 DISASSEMBLY
1.Remove low pressure piping.■ CAUTION ■ - Disassemble and assemble steering gear assembly by fixing the mounting area with a vise using copper plates.
- Clean steering gear assembly with kerosene before disassembling. Be careful to avoid splashing or applying any kerosene over connector of discharge port or return port.
2.Remove cylinder tubes from gear housing assembly.
3.Remove rear cover cap from gear-sub assembly.
4.Measure adjusting screw height “H”, and loosen adjusting screw.

■ CAUTION ■ - Never loosen adjusting screw 2 turns or more.
- Replace steering gear assembly if adjusting screw is loosened 2 turns or more and it is removed.
5.Remove gear-sub assembly from gear housing assembly.
6.Remove O-ring from gear housing assembly.
7.Loosen outer socket lock nut, and remove outer socket.
8.Remove boot clamps, and then remove boot from inner socket.■ CAUTION ■ Never damage inner socket and gear housing assembly when removing boot. Inner socket and gear housing assembly must be replaced if inner socket and gear housing assembly are damaged because it may cause foreign material interfusion.
9.Remove inner socket from gear housing assembly.
10.Remove spacer from gear housing assembly.
 ASSEMBLY
1.Apply recommended fluid to O-ring, and then install O-ring to gear housing assembly.■ CAUTION ■ Never reuse O-ring.
2.Install gear-sub assembly to gear housing assembly.■ CAUTION ■ In order to protect oil seal from any damage, insert gear-sub assembly straightly.
3.Install inner socket to gear housing assembly with the following procedure.
(1)Install spacer to gear housing assembly.
(2)Apply thread sealant into the thread of inner socket.Use Genuine Medium Strength Thread Locking Sealant or equivalent. Refer to Recommended Chemical Products and Sealants.
4.Decide on the neutral position of the rack stroke (L).

5.Install rear cover cap to gear sub-assembly.■ CAUTION ■ Check that the projection of rear cover cap is aligned with the marking position of gear housing assembly.
6.Apply recommended thread sealant to the thread (2 turns thread), and then screw in the adjusting screw until it reaches height “H” from gear housing assembly measured before disassembling.
 Use Genuine High Performance Thread Sealant or equivalent. Refer to Recommended Chemical Products and Sealants.
7.Move rack assembly 10 strokes throughout the full stroke so that the parts can fit with each other.
8.Adjust pinion rotating torque with the following procedure.
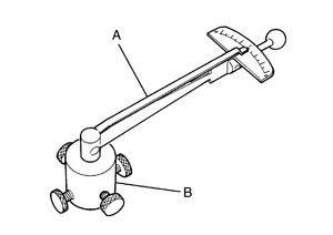
(1)Measure pinion rotating torque within ±180° of neutral position of the rack assembly using tools. Stop the gear at the point where highest torque is read.

A: Preload gauge [SST: ST3127S000 (J-25765-A)]
| B: Preload adapter [SST: KV48103400 ( — )]
|
(2)Loosen adjusting screw and retighten to 5.4 N·m (0.55 kg‐m, 48 in‐lb), and then loosen by 20 to 40°.
(3)Measure pinion rotating torque using tools to check that the measured value is within the specified value. Readjust if the value is outside the standard. Replace steering gear assembly, if the value is out of the specified value after readjusting, or adjusting screw rotating torque is 5 N·m (0.51 kg-m, 44 in-lb) or less.

Pinion rotating torque
|
| Around neutral position (within±100°) average (A)
| : 1.3 – 2.5 N·m (0.14 – 0.25 kg-m, 12 – 22 in-lb)
|
| Maximum variation (B)
| : 3.0 N·m (0.31 kg‐m, 27 in‐lb)
|
(4)Apply thread sealant to inner socket and turn pinion fully to left with inner socket installed to gear housing assembly.
(5)Install dial gauge at 5 mm (0.20 in) (L) from the edge of gear housing assembly (1), and tooth point.

(6)Measure vertical movement of rack assembly when pinion is turned clockwise with torque of 19.6 N·m (2.0 kg‐m, 14 ft‐lb). Readjust adjusting screw angle if the measured value is out of the specified value.
Vertical movement
| : 0.265 mm (0.0104 in)
|
- If reading is outside of the specification, readjust screw angle with adjusting screw.
■ CAUTION ■ - If reading is still outside of specification, or if the rotating torque of adjusting screw is less than 5 N·m (0.51 kg-m, 44 in-lb), replace steering gear assembly.
- Never turn adjusting screw more than twice.
- Replace steering gear assembly when adjusting screw is removed or turned more than twice.
9.Install large end of boot to gear housing assembly.

10.Install small end of boot to inner socket boot mounting groove.
11.Install boot clamp to boot small end.
12.Install boot clamp to the large side of boot with the following procedure.■ CAUTION ■ Never reuse boot clamp.
(1)Tighten large side of boot with boot clamp (stainless wire).

Wire length (L)
| : 370 mm (14.57 in)
|
(2)Wrap clamp around boot groove for two turns. Insert a flat-bladed screwdriver in loops on both ends of wire. Twist 4 to 4.5 turns while pulling them with force of approximately 98 N (10 kg, 22 lb).
(3)Twist boot clamp as shown. Pay attention to relationship between winding and twisting directions.

(4)Twisted area of clamp (A) is on the opposite side of adjusting screw (1) as shown in the figure. (To prevent contact with other parts)

(5)Bend cut end of the wire within the area (A) shown in the figure after twisting the wire 4 to 4.5 turns so that the cut end does not contact with boot.

■ CAUTION ■ Keep the clearance from cylinder tube 5.0 mm or more.
13.Install cylinder tubes to gear housing assembly.■ CAUTION ■ Never reuse copper washers.
14.Install low pressure piping.
15.Adjust inner socket to standard length (L), and then tighten lock nut to the specified torque. Check length again after tightening lock nut.

■ CAUTION ■ Adjust toe-in after this procedure. The length achieved after toe-in adjustment is not necessary the above value.
|