 REMOVAL
1.Drain power steering fluid from reservoir tank.
2.Remove the right of the air cleaner and the right of the air duct. Refer to Exploded View.
3.Loosen drive belt. Refer to Exploded View.
4.Remove drive belt from oil pump pulley.
5.Remove pressure sensor connector.
6.Remove copper washers and eye bolt (drain fluid from their pipings).
7.Remove suction hose (drain fluid from their pipings).
8.Remove oil pump mounting bolts, and then remove oil pump.
 INSTALLATION
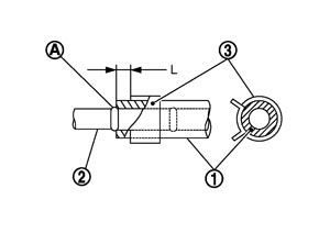
Note the following, and install in the reverse order of removal. - When installing suction hoses (1), refer to the figure.

■ CAUTION ■ - Never apply fluid to the hose (1) and tube (2).
- Insert hose securely until it contacts spool (A) of tube.
- Leave clearance (L) when installing clamp (3).
Standard
|
| L
| : 3 – 8 mm (0.12 – 0.31 in)
|
- When installing eye bolt (1) and copper washer (2) to oil pump (3), refer to the figure.

■ CAUTION ■ - Never reuse copper washer.
- Apply power steering fluid to around copper washers, then install eye bolt.
- Install eye bolt with eye joint (assembled to high pressure hose) (B) protrusion (A) facing with pump side cutout, and then tighten it to the specified torque after tightening by hand. Refer to Exploded View.
- Securely insert harness connector to pressure sensor.
- Adjust belt tension. Refer to Tension Adjustment (GT-R certified NISSAN dealer).
- Check fluid level, fluid leakage and air bleeding hydraulic system after the installation. Refer to Inspection.
|