- Turn ignition switch OFF.
- Remove cooling fan relay.
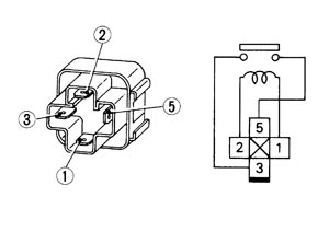
- Check the continuity between cooling fan relay terminals under the following conditions.

Terminals
| Conditions
| Continuity
|
3 and 5
| 12 V direct current supply between terminals 1 and 2
| Existed
|
No current supply
| Not existed
|
Is the inspection result normal?
YES
>>INSPECTION END
NO
>>Replace cooling fan relay.