NNBIB0048ZZ.JPG

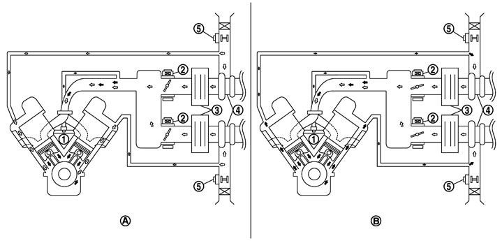
1.
PCV valve
2.
Electric throttle control actuator
3.
Charge air cooler
4.
Turbocharger
5.
Mass air flow sensor


A.
low-middle load condition
B.
Hi-load condition


: Fresh air
: Blow-by air

The positive crankcase ventilation (PCV) system returns the crankcase blow-by gas to the intake manifold via the PCV valve installed on the breather separator.
When the engine is in the low-middle load condition as shown in the figure (A), the blow-by gas goes to the intake manifold via the PCV valve. In the general driving conditions, the capacity of the PCV valve is sufficient for treating the blow-by gas and a little amount of the fresh air. The fresh air enters to the rocker cover from the air duct via a hose, and is guided to the crankcase. When the engine is in the high load condition as shown in the figure (B), the fresh air blows back in the hose and is drawn into the air duct.

PBIB1588E.JPG