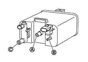
Check EVAP canister as follows:

1.Block port (B).
2.Blow air into port (A) and check that it flows freely out of port (C).
3.Release blocked port (B).
4.Apply vacuum pressure to port (B) and check that vacuum pressure exists at the ports (A) and (C).
5.Block port (A) and (B).
6.Apply pressure to port (C) and check that there is no leakage.