Note the following, install in the reverse order of removal.
- Because vacuum hose contains a check valve, it must be installed in the correct position. Refer to the stamp to confirm correct installation. Brake booster will not operate normally if the hose is installed in the wrong direction.
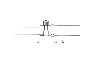
- When installing vacuum hose, insert it until its tip reaches the back-end of the length (A) or further as shown in the figure.

Standard
|
|
A
| : 24 mm (0.95 in) or more
|
- Face the marking side vehicle front when assembling. (Brake booster side)
- Face the marking side up when assembling. (Intake manifold side)
■ CAUTION ■
Never use lubricating oil during assembly.