INPUT/OUTPUT SIGNAL CHART

Sensor
Input signal to ECM
ECM function
Actuator
Crankshaft position sensor (POS)
Camshaft position sensor (PHASE)
Engine speed
Turbocharger boost control
Turbocharger boost control solenoid valve

Boost control actuator
Mass air flow sensor
Amount of intake air
Intake air temperature sensor
Intake air temperature
Engine coolant temperature sensor
Engine coolant temperature
Throttle position sensor
Throttle position
Accelerator pedal position sensor
Accelerator pedal position
Turbocharger boost sensor
Turbocharger boost
EVAP control system pressure sensor
Atmospheric pressure

 
 SYSTEM DESCRIPTION


NNBIB0038ZZ.JPG

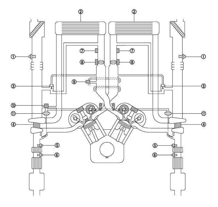
1.
Mass air flow sensor
2.
Charge air cooler
3.
Recirculation valve
4.
Turbocharger
5.
Air fuel ratio sensor 1
6.
Heated oxygen sensor 2
7.
Turbocharger boost sensor
8.
Electric throttle control actuator
9.
EVAP canister purge volume control solenoid valve
10.
Turbocharger boost control solenoid valve
11.
Boost control actuator



Depending on driving conditions, the ECM performs ON/OFF duty control of the turbocharger boost control solenoid valve and controls the boost by adjusting the pressure to the diaphragm of the boost control actuator. When driving conditions demand an increase in boost, the ECM prolongs the ON time of the turbocharger boost control solenoid valve and moves the boost control valve towards the closing direction by reducing the pressure in the diaphragm of the boost control actuator. The emission gas to the turbine wheel is then increased. When driving conditions demand a decrease in boost, the ECM shortens the ON time of the turbocharger boost control solenoid valve and moves the boost control valve towards the opening position by increasing the pressure in the diaphragm of the boost control actuator. The emission bypassing to the turbine wheel is then increased. Thus, by performing the most optimal boost control, the ECM improves engine output and response.
NOTE:
The boost varies depending on the vehicle and driving conditions.
 
 BOOST CONTROL ACTUATOR LINE DRAWING


NNBIB0011ZZ.JPG

1.
Boost control actuator (bank 1)
2.
Boost control actuator (bank 2)
3.
Turbocharger boost control solenoid valve
A.
Engine right side
B.
Engine left side
C.
Engine front side
: Vehicle front