- Turn ignition switch OFF.
- Remove air pump relay.
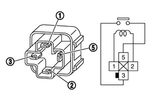
- Check the continuity between air pump relay terminals under the following conditions.

Terminals
| Condition
| Continuity
|
3 and 5
| 12 V direct current supply between terminals 1 and 2
| Existed
|
No supply
| Not existed
|
Is the inspection result normal?
YES
>>INSPECTION END
NO
>>Replace air pump relay.