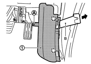
■ CAUTION ■
Wrap the tools with shop cloth or tape to prevent damage when using the tools during removal.
 REMOVAL
 INSTALLATION
Note the following, and install in the reverse order of removal. ■ CAUTION ■ When installing body side trim, check that clips are securely fitted in panel holes on the body, and then press them in.
|