 REMOVAL
1.Remove partially headlining (front edge). Refer to Removal and Installation.
2.Remove inside mirror. Refer to Removal and Installation.
3.Remove the front wiper arms (LH/RH). Refer to Removal and Installation.
4.Remove cowl top cover. Refer to Removal and Installation.
5.Remove the roof side molding (LH/RH). Refer to Removal and Installation.
6.Remove the front pillar finisher (LH/RH). Refer to Removal and Installation.
7.Apply protective tape around windshield to prevent painted surface from being damaged.
8.Guiding a cutter knife along glass, cut the windshield molding.
9.Using a pair of pliers, pull molding remaining at the body flange out of bonded area of glass.
10.Paint matching marks on the body and glass if the windshield is reused.

NOTE: - Positioning during installation can be easily performed.
- When installing a new windshield glass mount the glass on the body and put the matching marks after clearing the body side.
11.Cut the adhesive.Depending on the tool in use, follow the procedures below:■ CAUTION ■ Never use a windshield cutter if the windshield is reused. (It may scratch the glass surface)
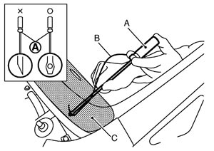
(1)With piano wire (when reusing glass)
1)Pass the piano wire (B) from the passenger room to the bonded area of glass using a wire pierce (A).

■ CAUTION ■ - Never press the piano wire excessively against the edge of the glass.
- Always use a Standish cover (C) to keep the piano wire clear of plastic parts such as the instrument panel.
- For the corner area, never insert the piano wire into the mating surfaces of glass.
- Never damage the harness around the glass.
2)Tie both ends of the piano wire (B) to the wire grip (A), etc.

3)With 2 persons, one holding the piano wire (B) inside the vehicle along with the glass and the other holding it outside the vehicle along with the gap between the body and glass, pull it to cut off the adhesive.

■ CAUTION ■ Always use a Standish cover (C) to keep the piano wire clear of plastic parts such as the instrument panel.
(2)With a windshield cutter (A) (when replacing glass)

1)Apply soapy water around the bonded area on the body for smooth movement of the windshield cutter. 2)Insert the windshield cutter into the bonded area. Cut the adhesive by pulling the knife, keeping the tip parallel to the edge of the glass.
12.Use rubber suction cups or suction lifter (A), etc. to remove glass from the vehicle.

 INSTALLATION
1.Using a scraper, remove remaining adhesive (sealant) on the body side down to approximately a depth that is 2 mm (0.079 in) thick (a) so that entire contour becomes smooth.

■ CAUTION ■ If the bonded area on the body is scratched, repair it with a two-liquid type urethane paint. Never use lacquer type paint.
2.When reusing the glass (2), use the cutter (A) to remove the remaining adhesive (1) (sealant) and smooth out the surface.

3.Mount the glass onto the vehicle and paint matching marks on the body and glass when installing new glass. Then remove the glass again.
4.Use the rubber suction cups or suction lifter (A) to set the glass (1) on the glass stand (B).

5.Clean the bonded area on the glass and body with white gasoline or degreasing agent.
6.Install new spacer.
7.Install new windshield molding. NOTE: Lightly affix the center of molding. Affix the whole length while checking the length on the left and right.
■ CAUTION ■ - Always install the windshield molding before the adhesive hardens.
- After installing glass, keep the front door glass open until the adhesive is completely cured. Never drive the vehicle.
8.Apply primer for the glass along the entire circumference of the glass. Use the sealing kit for glass application and the special holder for cartridge or similar tools. ■ CAUTION ■ There are 2 types of primer. Never confuse the application methods.
- Primer for painted surfaces
- Primer for glass
NOTE: The essential function of primers is to strengthen adhesion between the glass and the painted surface.
9.Apply primer for the painted surface to the body side bonding surface. ■ CAUTION ■ - If the body side bonding surface is repaired with a two-liquid type urethane paint, always apply the primer after drying the paint.
- If primer for painted surfaces adheres to a painted surface other than the bonding area, or if it overflows, quickly remove it with white gasoline or degreasing agent.
- Always use a Standish cover (stainless plate) to prevent primer for painted surfaces from adhering to the instrument panel.
10.Affix the dam rubber and apply adhesive along the edge of the glass within the time period indicated in the service manual after applying primer. - When reusing the glass, affix new dam rubber at the same place where old dam rubber is affixed.
- When installing new glass, apply the dam rubber from the edge of the glass so as to hide the black print.
■ CAUTION ■ - Apply the dam rubber (1) from the outline mark of black print as shown in Exploded View.

- Start to apply the dam rubber at the outline mark of black print. Apply it so as to only place it without pulling. Stop applying at another outline mark of black print.
NOTE: Open adhesive by cutting off the nozzle tip and set it in a sealant gun.
11.Use rubber suction cups or suction lifter (A) that are installed in advance, align the matching marks between the spacer and roof panel hole and between the body and glass (1) to install them on the vehicle.

■ CAUTION ■ 2 or more workers are required when installing the glass.
12.Press the entire surface of the glass lightly to fit it completely.
13.Correct any adhesive overflow or shortage using a spatula to make the surface smooth.
14.Remove the protective tape.
15.Install the removed parts.■ CAUTION ■ - Adjust the front wiper arms stop position. Refer to Adjustment.
- Check the mating area with surrounding parts. Adjust if necessary.
|