
REMOVAL
- Remove the door finisher (driver side).Refer to Removal and Installation.
- Remove the screws (B).

- Remove power window main switch finisher (driver side) (2) from door finisher (driver side) using flat-bladed screwdriver (A) etc.

| : Pawl
|
■ CAUTION ■
Never fold the pawl of door finisher.
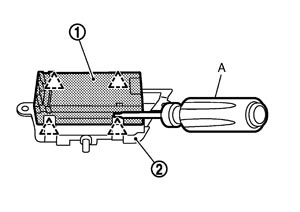
- Remove power window main switch (1) from power window main switch finisher (driver side) using flat-bladed screwdriver (A) etc.


| : Pawl
|
■ CAUTION ■
Never fold the pawl of power window main switch finisher.
NOTE:
The same procedure is also performed for power window sub-switch.

INSTALLATION
Install in the reverse order of removal.