OPERATION PRINCIPLE
 
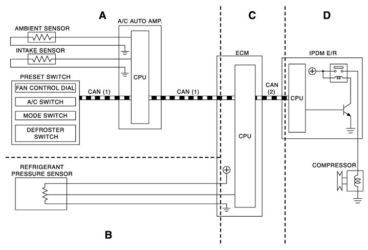
 Functional Circuit Diagram


JPIIA0484GB.JPG

CAN (1)
: A/C switch signal
: Blower fan motor switch signal
CAN (2)
: A/C compressor request signal

 
 Functional Initial Inspection Chart

Control unit
Diagnosis item
Location
A
B
C
D
A/C auto amp.
“HVAC”
Self-diagnosis
×



Data monitor
×



Active test
×


×
ECM
“ENGINE”
Self-diagnosis function
(CAN system diagnosis)


×

Data monitor

×
×

IPDM E/R
“IPDM E/R”
Self-diagnosis function
(CAN system diagnosis)



×
Data monitor


×

Auto active test



×