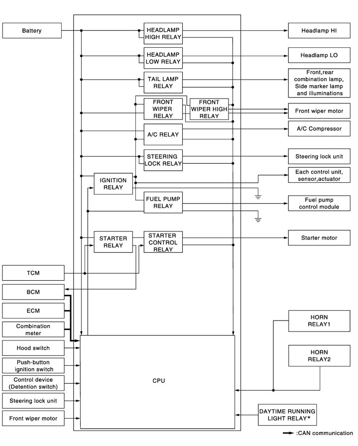
NNMIA0047GB.JPG
*: With daytime running light system