 INSPECTION AFTER REMOVAL
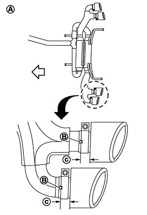
- Check that the muffler finisher installation position, referring to the figure.

A
| : Under view
| B
| : Protrusion (main muffler assembly side)
| c
| : 28 mm (1.10 in)
| 
| : Vehicle front
|
■ CAUTION ■ Be sure to correct the installation position if it is different from the position shown in the figure.
 INSPECTION AFTER INSTALLATION
- Check that clearance between muffler finisher and rear bumper is even.
- If the clearance is not even, reinstall main muffler assembly.
■ CAUTION ■ When reinstalling main muffler assembly, check the muffler finisher installation position. Refer to “INSPECTION AFTER REMOVAL”.
- With engine running, check exhaust tube joints for gas leakage and unusual noise.
- Check to ensure that mounting brackets are installed properly and free from undue stress. Improper installation may result in excessive noise and vibration.
|