Tool name
Description
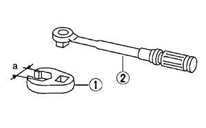
1. Flare nut crowfoot
a: 10 mm (0.39 in) /12 mm (0.47 in)
2. Torque wrench

S-NT360.JPG
Installs brake tube