- Turn ignition switch OFF.
- Disconnect rear window defogger relay.
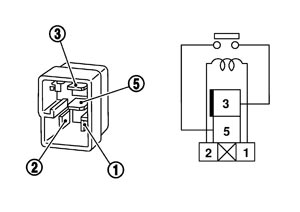
- Check rear window defogger relay.
Rear window defogger relay
|
Condition
|
Continuity
|
Terminal
|
3
|
5
|
12 V direct current supply between terminals 1 and 2.
|
Existed
|
No current supply
|
Not existed
|
Is the inspection result normal?
YES
>>INSPECTION END
NO
>>Replace rear window defogger relay.