 DISASSEMBLY
1.Fix shaft with a vise.■ CAUTION ■ Protect shaft when fixing with a vise using aluminum or copper plates.
2.Remove dust shield from drive shaft.
3.Remove boot bands and then remove boot from joint sub-assembly.
4.Screw the drive shaft puller (A) 30 mm (1.18 in) or more into the thread of joint sub-assembly, and pull joint sub-assembly with a sliding hammer (B) from shaft.

■ CAUTION ■ - Align sliding hammer and drive shaft and remove them by pulling firmly and uniformly.
- If joint sub-assembly cannot be removed after five or more unsuccessful attempts, replace shaft and joint sub assembly as a set.
5.Remove circular clip from shaft.
6.Remove boot from shaft.
 ASSEMBLY
1.Clean the old grease on joint sub-assembly with paper waste.
2.Fill serration slot joint sub-assembly (1) with NISSAN genuine grease or equivalent until the serration slot and ball groove become full to the brim.

■ CAUTION ■ After applying grease, use a paper waste to wipe it out old grease that has oozed out.
3.Wrap serration on shaft with tape (A) to protect the boot from damage. Install boot and boot bands to shaft.

■ CAUTION ■ Never reuse boot and boot band.
4.Remove the tape wrapped around the serration on shaft.
5.Position circular clip on groove at the shaft edge.■ CAUTION ■ Never reuse circular clip.
NOTE: Drive joint inserter is recommended when installing circular clip.
6.Align both center axles of the shaft edge and joint sub-assembly. Then assemble shaft with joint sub-assembly holding circular clip.
7.Install joint sub-assembly to shaft using plastic hammer.

■ CAUTION ■ Confirm that joint sub-assembly is correctly engaged while rotating drive shaft.
8.Apply the specified amount of grease into the boot inside from large diameter side of boot.
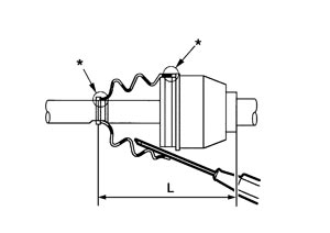
9.Install the boot securely into grooves (indicated by “*” marks) shown in the figure.

■ CAUTION ■ If grease adheres to the boot mounting surface (indicated by “*” mark) on the shaft or housing, boot may come off. Remove all grease from the surfaces.
10.To prevent the deformation of the boot, adjust the boot installation length (L) to the specified value shown below by inserting the suitable tool into inside of the boot from the large diameter side of boot and discharging the inside air.
■ CAUTION ■ - If the boot installation length is outside the standard, it may cause breakage of boot.
- Be careful not to touch the inside of the boot with the tip of tool.
11.Secure the ends of the boot with boot bands using the boot band crimping tool (A) [SST: KV40107300 ( − )].

■ CAUTION ■ Never reuse boot band.
NOTE: Secure boot band so that dimension (M) meets the specification as shown in the figure.

M
| : 2.0 – 3.0 mm (0.079 – 0.118 in)
|
12.Secure joint sub-assembly and shaft, and then check that they are in the correct position when rotating boot. Install them with boot band when boot installation positions become incorrect.■ CAUTION ■ Never reuse boot band.
13.Install dust shield to drive shaft.■ CAUTION ■ Never reuse dust shield.
|