 DISASSEMBLY
1.Fix shaft with a vise.■ CAUTION ■ Protect shaft when fixing with a vise using aluminum or copper plates.
2.Remove boot bands, and then remove boot from housing.
3.If plug needs to be removed, move boot to wheel side, and take it out with a plastic hammer.
4.Put matching marks on housing and shaft.■ CAUTION ■ Use paint or similar substance for matching marks. Never scratch the surface.
5.Remove stopper ring with suitable tool, and pull out housing.

6.Put matching marks on ball cage/steel ball/inner race assembly and shaft.■ CAUTION ■ Use paint or similar substance for matching marks. Never scratch the surface.
7.Remove snap ring, then remove ball cage/steel ball/inner race assembly from shaft.

8.Remove boot from shaft.
 ASSEMBLY
1.Remove old grease on housing with paper waste.
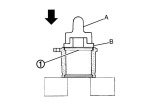
2.If plug (1) has been removed, use a drift to press in a new one.
: Press
| A
| : Drift [SST: KV38100500 ( − )]
| B
| : Drift [SST: KV38102200 ( − )]
|

3.Wrap serration on shaft with tape (A) to protect the boot from damage. Install boot and boot bands to shaft.

■ CAUTION ■ Never reuse boot and boot band.
4.Remove the tape wrapped around the serration on shaft.
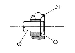
5.Install ball cage/steel ball/inner race assembly (1), align it with the matching marks on shaft (2) put during the removal.

6.install ball cage/steel ball/inner race assembly onto shaft with snap ring (3).■ CAUTION ■ Never reuse snap ring.
7.Apply the appropriate amount of grease onto housing and sliding surface.
8.Install stopper ring to housing.■ CAUTION ■ Never reuse stopper ring.
9.After installed, pull shaft to check engagement between housing and stopper ring.
10.Install boot into grooves (indicated by “*” marks) shown in the figure.

■ CAUTION ■ If grease adheres to the boot mounting surfaces (indicated by “*” marks) on shaft or housing, boot may be removed. Remove all grease from the surfaces.
11.To prevent deformation of the boot, adjust the boot installation length (L) to the value shown below by inserting the suitable tool into the inside of boot from the large diameter side of boot and discharging inside air.
■ CAUTION ■ - If the boot installation length is outside the standard, it may cause breakage of boot.
- Be careful not to touch the inside of the boot with the tip of tool.
12.Install boot bands as shown in the figure.

■ CAUTION ■ Never reuse boot band.
13.Secure housing and shaft, and then check that they are in the correct position when rotating boot. Install them with boot band when the mounting positions become incorrect.■ CAUTION ■ Never reuse boot band.
|