REMOVAL

    1.Remove the cluster lid C (lower). Refer to Removal and Installation.
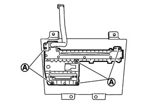
    2.Remove the screws (A), and then remove the disk eject switch.
    NNNIA0091ZZ.JPG
 
 INSTALLATION

Install in the reverse order of removal.
NOTE:
When installing disk eject switch, do not allow the hard wire that connects disk eject switch and preset switch to get caught in between AV control unit and disk eject switch.