DUAL CLUTCH

  • It is equipped with 2 wet clutches, clutch A and clutch B, and each clutch is engaged or released by the hydraulic piston.
  • If there is no oil pressure, the return spring forces the piston to return, releasing the clutch.
 
 SHIFT DEVICE

  • Each synchronizer is activated by its own shift actuator (hydraulic cylinder).
  • Borg Warner type triple cone synchronizer is used for all the gear speeds.
  • A friction material is affixed to the cone surface of the synchronizer to allow higher capacity than a normal cone made of copper alloy.
  • The actuator control module is a unit integrated with the shift actuator and hydraulic control valve.
 
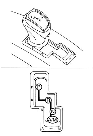
 SHIFT LEVER

  • It inputs the range position (P, R, N, A ⇔ M) and Auto/Manual range change switch signal to the TCM.
    NNDIA0114ZZ.JPG
  • It is connected to the parking device of the transmission with the control cable, and it locks the parking device only when the shift lever is shifted into the P position.
 
 PADDLE SHIFTER

It inputs the switch signal of upshift or downshift to TCM.

JPDIA0925ZZ.JPG

1
: Paddle shifter (shift-down switch)
2
: Paddle shifter (shift-up switch)

 
 SET-UP SWITCH (TRANSMISSION)

It inputs the switch signal of R mode or SNOW mode to TCM.

NNDIA0116ZZ.JPG
 
 DISPLAY DEVICE
 
 Information display

Message content
Display timing
Erasure procedure
Remarks
T/M SYSTEM MALFUNCTION VISIT DEALER
When the check is necessary
  • Turn the ignition switch ON again after turning OFF
  • Erase the DTC using CONSULT-III
Always blink the transmission warning light when this message is displayed
SHIFT TO THE P RANGE
  • When the engine start operation is performed in any range other than P or N
  • When the engine starts while the shift lever is in N range and the gear is engaged
Shift the shift lever to the P range

CHECK POSITION OF SHIFT LEVER
When the shift lever position cannot be detected
Shift the shift lever into either range of P, R, N, A ⇔ M

T/M SYSTEM CHECK IN PROCESS
When the diagnosis is performed just after the engine starts while the shift lever is in the P range
Wait for a short period of time until the diagnosis is completed
While this message is displayed, the shift lock solenoid prevents the shift lever from moving out of the P range
T/M OIL TEMP HIGH DECREASE SPEED
When the high oil temperature control is active because of high transmission fluid temperature
When the high oil temperature control is deactivated
Always illuminate the transmission warning light when this message is displayed
T/M CLUTCH TEMP HIGH STOP VEHICLE UNTIL WARNING TURNS OFF
When the clutch protection control is active because of high clutch temperature or stall driving
When the clutch protection control is deactivated
Always illuminate the transmission warning light when this message is displayed

 
 Shift position indicator

Upon receiving the CAN output signal from TCM, the drive gear position appears and blinks, and the range is displayed.

NNDIA0119ZZ.JPG

A
: Range position and drive gear position (A/M range)
B
: A range or M range

 
 Transmission warning light

It illuminates and blinks with the CAN output signal from TCM.

NNDIA0120ZZ.JPG

ON
: It shows an intermittent malfunction such as high transmission fluid temperature.
Blinking
: It shows that a malfunction requiring a check occurs.

 
 Mode indicator

R mode lamp and SNOW mode lamp illuminate by the analog output signal from TCM.

NNDIA0121ZZ.JPG

A
: R mode lamp
B
: SNOW mode lamp

 
 Multi-function display

The drive gear position, range position, transmission oil pressure and transmission oil temperature are displayed by the CAN output signal from TCM.


JPDIA0897ZZ.JPG

A.
Transmission oil temperature
B.

Transmission oil pressure
C.
Range position and drive gear position (A/M range)
D.
A range or M range