REMOVAL

■ CAUTION ■
Be careful because the heat exchanger unit and transmission oil are hot during work.
    1.Remove the main muffler. Refer to Exploded View.
    2.Remove the heat insulator.
    3.Remove water hose C and water hose D from the heat exchanger. Refer to Exploded View (GT-R certified NISSAN dealer).
    4.Remove the heat exchanger (1).
    NNDIA0028ZZ.JPG


    : Bolt


    5.Remove O-rings (1) and (2) from the heat exchanger.
    NNDIA0029ZZ.JPG

    6.Remove the heat exchanger bracket (1) from the transmission assembly.
    NNDIA0030ZZ.JPG


    : Bolt


    7.Remove O-ring (1) from the heat exchanger bracket.
    NNDIA0031ZZ.JPG
 
 INSTALLATION

Note the following, and install in the reverse order of removal.
■ CAUTION ■
  • Never reuse O-ring.
  • Apply the transmission oil to O-ring when the O-ring is installed to the heat exchanger.

  • Temporally tighten the mounting bolt, and then tighten it to the specified torque in the order shown in the figure when installing the heat exchanger bracket to the transmission assembly.
    NNDIA0027ZZ.JPG

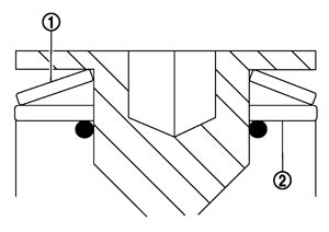
  • Install the heat exchanger so that the spring washer (1) is positioned as shown in the figure.
    NNDIA0025ZZ.JPG

    2
    : Plane washer

    ■ CAUTION ■
    Never reuse spring washer.

  • Tighten the heat exchanger mounting bolt under the condition that the heat exchanger is fitted with the stopper (A) of heat exchanger bracket.
    NNDIA0026ZZ.JPG
  • Fill with the transmission oil to the transmission assembly after installation. Refer to Filling.