The actual shapes of Kent-Moore tools may differ from those of special service tools illustrated here.
Tool number (Kent-Moore No.) Tool name
|
| Description
|
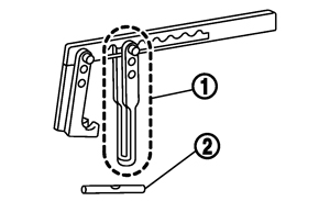
KV10116200 (J26336-A) Valve spring compressor 1. KV10115900 (J26336-20) Attachment 2.KV10109220 ( — ) Adapter
|

| Disassembling valve mechanism Part (1) is a component of KV10116200 (J26336-A), but Part (2) is not so.
|
KV10107902 (J38959) Valve oil seal puller
|

| Replacing valve oil seal
|
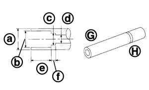
KV10115600 (J-38958) Valve oil seal drift
|

| Installing valve oil seal Use side A (G). a: 20 (0.79) dia. d: 8 (0.31) dia. b: 13 (0.51) dia. e: 10.7 (0.421) c: 10.3 (0.406) dia. f: 5 (0.20) H: side B Unit: mm (in)
|
EM03470000 (J8037) Piston ring compressor
|

| Installing piston assembly into cylinder bore
|
KV10111100 (J37228) Seal cutter
|

| Removing oil pan (lower), front and rear timing chain case, etc.
|
KV10112100 (BT8653-A) Angle wrench
|

| Tightening bolts for connecting rod bearing cap, cylinder head, etc. in angle
|
KV10111710 (J3647-A) Heated oxygen sensor wrench
|

| Loosening or tightening air fuel ratio sensor 1 For 22 mm (0.87 in) width hexagon nut
|
KV10114400 (J-38365) Heated oxygen sensor wrench
|

| Loosening or tightening heated oxygen senor 2 a: 22 mm (0.87 in)
|
KV101056S0 (J-49374) Ring gear stopper
|

| Fixing flywheel
|
KV10119100 (J-49360) Resin gasket scraper
|

| Liquid gasket scraper for oil pan (upper)
|