 REMOVAL
■ WARNING ■
- Put a “CAUTION: FLAMMABLE” sign in the workshop.
- Be sure to work in a well ventilated area and furnish workshop with a CO2 fire extinguisher.
- Never smoke while servicing fuel system. Keep open flames and sparks away from the work area.
- To avoid the danger of being scalded, never drain engine coolant when the engine is hot.
1.Release fuel pressure. Refer to Inspection.
2.Remove engine cover with power tool. Refer to Exploded View.
3.Disconnect fuel feed hose (with damper) (1) and fuel return hose (with damper) (2) from centralized under-floor piping connection, disconnect quick connector as follows:


| : Engine front
|
(1)Push in retainer (D).

1
| : Fuel hose
| A
| : Connection (Cross-section)
| C
| : Tabs
| E
| : Disconnection
|
(2)Draw and pull out quick connector (B) straight from centralized under-floor piping (2).■ CAUTION ■ - Keep parts away from heat source. Especially, be careful when welding is performed around them.
- Never expose parts to battery electrolyte or other acids.
- Never pull with lateral force applied. O-ring inside quick connector may be damaged.
- Never remove the remaining retainer.
- Never bend or twist connection between quick connector and fuel hose during installation/removal.
- When centralized under-floor piping is replaced, also replace retainer with a new one.
Retainer color
|
| Feed side
| : Yellow
| Return side
| : Light blue
|
- To keep clean the connecting portion and to avoid damage and foreign materials, cover them completely with plastic bags, etc. (A) or something similar.

4.Remove intake manifold collector. Refer to Exploded View.■ CAUTION ■ Mark the parts with paint in advance of the reinstallation to prevent misalignment between the intake manifold collector and intake manifold.
5.Remove fuel feed hose (with damper) and fuel return hose (with damper) from fuel tube.
6.Remove fuel hose (with pressure regulator), if necessary.■ CAUTION ■ Never tilt it, or remaining fuel in pipes may flow out from pipes.
7.Disconnect fuel injector sub harness from fuel injector.
8.Remove fuel tube and fuel injector assembly.


| : Engine front
|
- Loosen mounting bolts in reverse order as shown in the figure.
■ CAUTION ■ Never tilt it, or remaining fuel in pipes may flow out from pipes.
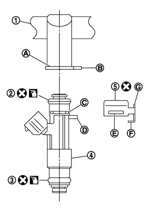
9.Remove fuel injector from fuel tube (1) as follows:

2
| : O‐ring (black)
| 4
| : O‐ring (green)
| A
| : Installed condition
|
(1)Open and remove clip (3).
(2)Remove fuel injector from fuel tube by pulling straight.■ CAUTION ■ - Be careful with remaining fuel that may go out from fuel tube.
- Be careful not to damage injector nozzles during removal.
- Never bump or drop fuel injector.
- Never disassemble fuel injector.
10.Remove fuel damper from fuel tube, if necessary.
 INSTALLATION
1.Install fuel damper (2) as follows:

(1)Install new O‐ring (3) to fuel tube (4) as shown. When handling new O‐ring, be careful of the following caution:■ CAUTION ■ - Handle O‐ring with bare hands. Never wear gloves.
- Lubricate O‐ring with new engine oil.
- Never clean O‐ring with solvent.
- Check that O‐ring and its mating part are free of foreign material.
- When installing O‐ring, be careful not to scratch it with tool or fingernails. Also be careful not to twist or stretch O‐ring. If O‐ring was stretched while it was being attached, never insert it quickly into fuel tube.
- Insert new O‐ring straight into fuel tube. Never twist it.
(2)Install spacer (C) to fuel damper.
(3)Insert fuel damper straight into fuel tube.■ CAUTION ■ - Insert fuel damper until (A) is touching (B) of fuel tube.
- Insert straight, making sure that the axis is lined up.
- Never pressure‐fit with excessive force.
Reference value
| : 130 N (13.3 kg, 29.2 lb)
|
(4)Tighten bolts evenly in turn.- After tightening bolts, check that there is no gap between fuel damper cap and fuel tube.
2.Install new O-rings to fuel injector, paying attention to the following.■ CAUTION ■ - Upper and lower O-ring are different. Be careful not to confuse them.
Fuel tube side
| : Black
| Nozzle side
| : Green
|
- Handle O-ring with bare hands. Never wear gloves.
- Lubricate O-ring with new engine oil.
- Never clean O-ring with solvent.
- Check that O-ring and its mating part are free of foreign material.
- When installing O-ring, be careful not to scratch it with tool or fingernails. Also be careful not to twist or stretch O-ring. If O-ring was stretched while it was being attached, never insert it quickly into fuel tube.
- Insert O-ring straight into fuel injector. Never decenter or twist it.
3.Install fuel injector (4) to fuel tube as follows:

2
| : O‐ring (Black)
| 3
| : O‐ring (Green)
|
(1)Insert clip (5) into clip mounting groove (C) on fuel injector.- Insert clip so that protrusion (D) of fuel injector matches cutout (F) of clip.
■ CAUTION ■ - Never reuse clip. Replace it with a new one.
- Be careful to keep clip from interfering with O-ring. If interference occurs, replace O-ring.
(2)Insert fuel injector into fuel tube (1) with clip attached.- Insert it while matching it to the axial center.
- Insert fuel injector so that protrusion (B) of fuel tube matches cutout (G) of clip.
- Check that fuel tube flange (A) is securely fixed in flange fixing groove (E) on clip.
■ CAUTION ■ Never pressure‐fit with excessive force.
Reference value
| : 130 N (13.3 kg, 29.2 lb)
|
(3)Check that installation is complete by checking that fuel injector does not rotate or come off.- Check that protrusions of fuel injectors are aligned with cutouts of clips after installation.
4.Install fuel tube and fuel injector assembly.■ CAUTION ■ Be careful not to let tip of injector nozzle come in contact with other parts.
- Tighten mounting bolts in two steps in numerical order as shown in the figure.


| : Engine front
|
1st step
| : 10.1 N·m (1.0 kg-m, 7 ft-lb)
| 2nd step
| : 22.0 N·m (2.2 kg-m, 16 ft-lb)
|
5.Connect fuel injector sub harness.
6.Install fuel hose (with pressure regulator), if removed.- Handling procedure of O‐ring is the same as that of fuel damper.
- Insert fuel damper straight into fuel tube.
- Tighten mounting bolts evenly in turn.
- After tightening mounting bolts, check that there is no gap between flange and fuel tube.
7.Install fuel feed hose (with damper) and fuel return hose (with damper) as follows:
(1)Fuel tube side:- Handling procedure of O‐ring is the same as that of fuel damper.
- Insert fuel damper straight into fuel tube.
- Tighten mounting bolts evenly in turn.
- After tightening mounting bolts, check that there is no gap between flange and fuel tube.
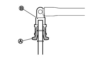
(2)Connect quick connector centralized under-floor piping side:1)Check no foreign substances are deposited in and around centralized under-floor piping and quick connector, and no damage on them. 2)Thinly apply new engine oil around centralized under-floor piping from tip end to spool end. 3)Align center to insert quick connector straightly into centralized under-floor piping.- Visually confirm that the two retainer tabs (A) are connected to the quick connector (B).

■ CAUTION ■ - Carefully align center to avoid inclined insertion to prevent damage to O-ring inside quick connector.
- Insert until you hear a “click” sound and actually feel the engagement.
- To avoid misidentification of engagement with a similar sound, be sure to perform the next step.
4)Pull quick connector (A) by hand holding position. Check it is completely engaged (connected) so that it does not come out from fuel piping.

1
| : Centralized under-floor piping
|
8.Install in the reverse order of removal after this step.
|