■ WARNING ■
- Situate the vehicle on a flat and solid surface.
- Place chocks at front and back of rear wheels.
- For engines not equipped with engine slingers, attach proper slingers and bolts described in PARTS CATALOG.
■ CAUTION ■
- Always be careful to work safely, avoid forceful or uninstructed operations.
- Never start working until exhaust system and engine coolant are cool enough.
- If items or work required are not covered by the engine section, refer to the applicable sections.
- Always use the support point specified for lifting.
- Use either 2-pole lift type or separate type lift as best you can. If board-on type is used for unavoidable reasons, support at rear axle jacking point with transmission jack or similar tool before starting work, in preparation for the backward shift of center of gravity.
- For supporting points for lifting and jacking point at rear axle, refer to Garage Jack and Safety Stand and 2-Pole Lift.
 REMOVAL
 Outline
At first, remove the engine & the flywheel housing assembly and front final drive assembly with front suspension member downward. Then separate the engine, flywheel housing, front final drive assembly and front suspension member.
 Preparation
1.Release fuel pressure. Refer to Inspection.
2.Drain engine coolant from radiator. Refer to Draining.■ CAUTION ■ - Perform this step when engine is cold.
- Never spill engine coolant on drive belt.
3.Disconnect both battery terminals. Refer to Exploded View.
4.Remove the following parts:
5.Discharge refrigerant from A/C circuit. Refer to Collection and Charge.
6.Remove radiator hoses (upper and lower). Refer to Exploded View.
 Engine Room LH
1.Disconnect vacuum hose (for brake booster). Refer to Exploded View.
2.Disconnect heater hose from vehicle-side, and fit a plug onto hose end to prevent engine coolant leak.
3.Disconnect A/C piping from A/C compressor, and temporarily fasten it on vehicle with a rope. Refer to Exploded View (GT-R certified NISSAN dealer).
4.Disconnect battery positive cable vehicle side and temporarily fasten it on engine.
 Engine Room RH
1.Disconnect positive cable of alternator at vehicle side.
2.Disconnect fuel feed hose (with damper), fuel return hose (with damper) and EVAP hose. Refer to Exploded View.■ CAUTION ■ Fit plugs onto disconnected hoses to prevent fuel leak.
3.Remove oil cooler hose and suction hose of power steering oil pump. Refer to Exploded View.- Install plug to avoid leakage of power steering fluid.
4.Remove reservoir tank of power steering oil pump and piping from vehicle, and temporarily secure them on engine. Refer to Exploded View.■ CAUTION ■ When temporarily securing, keep the reservoir tank upright to avoid a fluid leak.
 Engine Room Rear
 Vehicle Inside
Follow procedure below to disconnect engine room harness connectors at passenger room side, and temporarily secure them on engine. 1.Remove passenger-side kicking plate and dash side finisher. Refer to Exploded View. 2.Disconnect engine room harness connectors at unit sides ECM and other. 3.Disengage intermediate fixing point. Pull out engine room harnesses to engine room side, and temporarily secure them on engine.■ CAUTION ■ - When pulling out harnesses, take care not to damage harnesses and connectors.
- After temporarily securing, cover connectors with vinyl or similar material to protect against foreign material adhesion.
 Vehicle Underbody
 Removal Work
1.Use a manual lift table caddy (commercial service tool) or equivalently rigid tool such as a transmission jack. Securely support bottom of suspension member.

■ CAUTION ■ Put a piece of wood or something similar as the supporting surface, secure a completely stable condition.
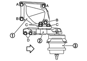
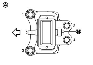
2.Remove rear engine mounting member bolts and nuts.
3.Remove front suspension member mounting bolts and nuts. Refer to Exploded View.
4.Carefully lower jack, or raise lift to remove the engine & flywheel housing assembly and front final drive assembly with front suspension member. When performing work, observe the following caution:■ CAUTION ■ - Confirm there is no interference with the vehicle.
- Check that all connection points have been disconnected.
- Keep in mind the center of the vehicle gravity changes. If necessary, use jack(s) to support the vehicle at rear jacking point(s) to prevent it from falling it off the lift.
 Separation Work
 INSTALLATION
|