 DISASSEMBLY
 ASSEMBLY
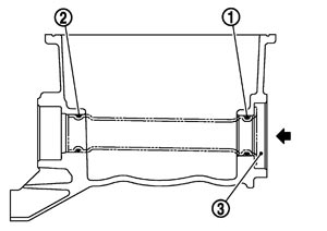
1.Install axle pipe (3) to oil pan (upper), if removed.

- Lubricate O-ring groove of axle pipe, O-rings, and O-ring joint of oil pan with new engine oil.
Unit: mm (in)Items
| O-ring inner diameter
| Front final drive side (right side) O-ring (2)
| φ31.4 (1.236)
| Axle pipe flange side (left side) O-ring (1)
| φ33.6 (1.323)
|
- Install axle pipe (1) to oil pan (upper) from axle pipe flange side (left side) using a suitable drift (A) [outer diameter: 43 to 57 mm (1.69 to 2.24 in)].

■ CAUTION ■ Insert it with care to prevent O-ring from sliding.
2.Install oil pan (upper) as follows:
(1) Apply gasket remover (commercial service tool) on old liquid gasket adhered to the oil pan (upper).
(2)Remove gasket with a resin gasket scraper [SST: KV10119100 (J-49360) (A).

■ CAUTION ■ The mounting surface of oil pan (upper) is surface-treated. Be sure to use a resin gasket scraper so as not to damage the surface-treated.
(3)Install new O-rings (2) on the bottom of lower cylinder block (3).

1
| : Rear timing chain case
| 
| : Engine front
|
(4)Apply a continuous bead of liquid gasket with the cartridge gun (commercial service tool) to the oil pan (upper) as shown in the figure.

a
| : 1.5 mm (0.059 in)
| b
| : φ4.5 mm (0.177 in)
| 
| : Engine front
|
Use Genuine RTV Silicone Sealant or equivalent. Refer to Recommended Chemical Products and Sealants.■ CAUTION ■ - For bolt holes with
marks (3 locations), apply liquid gasket outside the holes.
- Attaching should be done within 5 minutes after coating.
(5)Tighten mounting bolts in numerical order as shown in the figure.


| : Engine front
|
■ CAUTION ■ Install avoiding misalignment of O-rings.
- There are four types of mounting bolts. Refer to the following for locating bolts.
M8 × 30 mm (1.18 in)
| : 5, 6, 13, 14
| M8 × 40 mm (1.57 in)
| : 10
| M8 × 60 mm (2.36 in)
| : 1, 2, 3, 4, 7, 8, 11, 12
| M8 × 75 mm (2.95 in)
| : 9
|
(6)After installing oil pan (upper) (2), check the front timing chain case mounting surface.

1
| : Rear timing chain case
|
Standard
| : Less than 0.14 mm (0.006 in)
|
- If not within the standard, repeat the installation procedure.
3.Install oil pump. Refer to Exploded View (GT-R certified NISSAN dealer).
4.Install front timing chain case, timing chain (primary) and oil pump drive chain. Refer to Exploded View (GT-R certified NISSAN dealer).
5.Install oil strainer.
6.Install oil pan (lower) as follows:
(1)Apply a continuous bead of liquid gasket with the cartridge gun (commercial service tool) to the oil pan (lower) as shown in the figure.

a
| : 8.5 mm (0.335 in)
| b
| : φ4.5 mm (0.177 in)
|
Use Genuine RTV Silicone Sealant or equivalent. Refer to Recommended Chemical Products and Sealants.■ CAUTION ■ Attaching should be done within 5 minutes after coating.
(2)Tighten mounting bolts in numerical order as shown in the figure.


| : Engine front
|
NOTE: The figure shows downward gaze.
7.Install oil pan drain plug.
8.Install in the reverse order of removal after this step.NOTE: At least 30 minutes after oil pan is installed, pour engine oil.
|