 DISASSEMBLY
1.Remove the following parts:
2.Remove spark plug with spark plug wrench (commercial service tool).
3.Remove cylinder head.- Loosen mounting bolts in several steps in reverse order as shown in the figure with power tool.

A
| : Bank 1
| B
| : Bank 2
| 
| : Engine front
|
4.Remove cylinder head gaskets.
5.Remove valve lifter.- Identify installation positions, and store them without mixing them up.
6.Remove valve collet.- Compress valve spring with the valve spring compressor [SST: KV10116200 (J‐26336‐A)] (A), the attachment [SST: KV10115900 (J26336‐20)] (C) and the adapter [SST: KV10109220 ( — )] (B). Remove valve collet with a magnet hand.

■ CAUTION ■ When working, take care not to damage valve lifter holes.
7.Remove valve spring retainer, valve spring and valve spring seat.
8.Push valve stem to combustion chamber side, and remove valve.- Identify installation positions, and store them without mixing them up.
9.Remove valve oil seal using the valve oil seal puller [SST: KV10107902 (J38959)] (A).

10.Remove valve seat, if valve seat must be replaced.- Bore out old seat until it collapses. Boring should not continue beyond the bottom face of the seat recess in cylinder head. Set the machine depth stop to ensure this. Refer to Cylinder Head (GT-R certified NISSAN dealer).
■ CAUTION ■ Prevent to scratch cylinder head by excessive boring.
11.Remove valve guide, if valve guide must be replaced.
(1)To remove valve guide, heat cylinder head to 110 to 130°C (230 to 266°F) by soaking in heated oil (A).

(2)Drive out valve guide with a press [under a 20 kN (2 ton, 2.2 US ton, 2.0 lmp ton) pressure] or a hammer and the valve guide drift (commercial service tool).

■ WARNING ■ Cylinder head contains heat. When working, wear protective equipment to avoid getting burned.
12.Remove spark plug tube, if necessary.- Using a pliers, pull spark plug tube out of cylinder head.
■ CAUTION ■ - Take care not to damage cylinder head.
- Once removed, spark plug tube will be deformed and cannot be reused. Never remove it unless absolutely necessary.
 ASSEMBLY
1.Install valve guide, if removed. Replace with oversized [0.2 mm (0.008 in)] valve guide.
(1)Using the valve guide reamer (commercial service tool) (A), ream cylinder head valve guide hole.

(2)Heat cylinder head to 110 to 130°C (230 to 266°F) by soaking in heated oil (A).

(3)Using the valve guide drift (commercial service tool), press valve guide from camshaft side to the dimensions as in the figure.

■ WARNING ■ Cylinder head contains heat. When working, wear protective equipment to avoid getting burned.
(4)Using the valve guide reamer (commercial service tool) (A), apply reamer finish to valve guide.

2.Install valve seat, if removed. Replace with oversize [0.5 mm (0.020 in)] valve seat.
(1)Ream cylinder head recess diameter (a) for service valve seat.

- Be sure to ream in circles concentric to valve guide center. This will enable valve to fit correctly.
(2)Heat cylinder head to 110 to 130°C (230 to 266°F) by soaking in heated oil (A).

(3)Provide valve seats cooled well with dry ice. Force fit valve seat into cylinder head.■ WARNING ■ Cylinder head contains heat. When working, wear protective equipment to avoid getting burned.
■ CAUTION ■ Avoid directly touching cold valve seats.
(4)Using the valve seat cutter set (commercial service tool) or valve seat grinder, finish seat to the specified dimensions. Refer to Cylinder Head (GT-R certified NISSAN dealer).

■ CAUTION ■ When using the valve seat cutter, firmly grip cutter handle with both hands. Then, press on the contacting surface all around the circumference to cut in a single drive. Improper pressure on with cutter or cutting many different times may result in stage valve seat.
(5)Using compound, grind to adjust valve fitting.
(6)Check again for normal contact. Refer to Inspection (GT-R certified NISSAN dealer) .
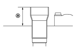
3.Install spark plug tube.- Press-fit spark plug tube as follows:
(1)Remove old locking sealant adhering to cylinder head mounting hole.
(2)Apply sealant to spark plug tube press-fit side.Use Genuine High Strength Locking Sealant or equivalent. Refer to Recommended Chemical Products and Sealants.
(3)Using drift, press-fit spark plug tube so that its height is as specified in the figure.

Standard press-fit height (a):
|
| : 34.6 - 35.6 mm (1.362 - 1.402 in)
|
■ CAUTION ■ - When press-fitting, take care not to deform spark plug tube.
- After press-fitting, wipe off locking sealant protruding onto cylinder-head upper face.
4.Install new valve oil seals as follows:
(1)Apply new engine oil on valve oil seal joint and seal lip.
(2)Install with the valve oil seal drift [SST: KV10115600 (J‐38958)] (A) to match dimension in the figure.

Height (b) (Without valve spring seat installed)
|
| Intake and exhaust
| : 13.3 - 13.9 mm (0.524 - 0.547 in)
|
5.Install valve.NOTE: Larger diameter valves are for intake side.
6.Install valve spring seat.
7.Install valve spring (uneven pitch type).- Install narrow pitch end [paint mark (A)] to cylinder head side (valve spring seat side).


| : Cylinder head side
|
Paint mark color
|
| Intake
| : Blue
| Exhaust
| : Pink
|
8.Install valve spring retainer.
9.Install valve collet.- Compress valve spring with the valve spring compressor [SST: KV10116200 (J26336‐A)] (A), the attachment [SST: KV10115900 (J26336‐20)] (C) and the adapter [SST: KV10109220 ( — )] (B). Install valve collet with a magnet hand.

■ CAUTION ■ When working, take care not to damage valve lifter holes.
- Tap valve stem edge lightly with plastic hammer after installation to check its installed condition.
10.Turn crankshaft until No. 1 piston is set at TDC.

1
| : Crankshaft key
| 
| : Bank 1 side
|
- Crankshaft key should line up with the bank 1 cylinder center line as shown in the figure.
11.Install new cylinder head gaskets.
12.Install cylinder head as follows:■ CAUTION ■
- Tighten cylinder head bolts in numerical order as shown in the figure

A
| : Bank 1
| B
| : Bank 2
| 
| : Engine front
|
(1)Apply new engine oil to threads and seat surfaces of cylinder head bolts.
(2)Tighten all cylinder head bolts.
: 40.0 N·m (4.1 kg-m, 30 ft-lb)
|
(3)Tighten all cylinder head bolts (clockwise).
Angle tightening:
| 65 degrees
|
(4)Tighten all cylinder head bolts again (clockwise).
Angle tightening:
| 65 degrees
|
(5)Completely loosen all cylinder head bolts.
: 0 N·m (0 kg-m, 0 ft-lb)
|
■ CAUTION ■ In step “e”, loosen bolts in reverse order of that indicated in the figure.
(6)Tighten all cylinder head bolts.
: 40.0 N·m (4.1 kg-m, 30 ft-lb)
|
(7)Tighten all cylinder head bolts (clockwise).
Angle tightening:
| 135 degrees
|
(8)Tighten all cylinder head bolts again (clockwise).
Angle tightening:
| 135 degrees
|
■ CAUTION ■ Check the tightening angle by using the angle wrench [SST: KV10112100 (BT8653‐A)] (A). Avoid judgment by visual inspection without.

- Check tightening angle indicated on the angle wrench indicator plate.
13.After installing cylinder head, measure distance between front end faces of cylinder block and cylinder head (bank 1 and bank 2).

Standard
| : 14.1 - 14.9 mm (0.555 - 0.587 in)
|
- If measured value is out of the standard, re-install cylinder head.
14.Install valve lifter.- Install it in the original position.
15.Install in the reverse order of removal after this step.
|