 CRANKSHAFT END PLAY
- Measure the clearance between thrust bearings and crankshaft arm when crankshaft is moved fully forward or backward with a dial indicator.

- If the measured value exceeds the limit, replace thrust bearings, and measure again. If it still exceeds the limit, replace crankshaft also.
 CONNECTING ROD SIDE CLEARANCE
- Measure the side clearance between connecting rod and crankshaft arm with a feeler gauge.

- If the measured value exceeds the limit, replace connecting rod, and measure again. If it still exceeds the limit, replace crankshaft also.
 PISTON TO PISTON PIN OIL CLEARANCE
 Piston Pin Hole Diameter
Measure the inner diameter of piston pin hole with an inside micrometer (A). 
 Piston Pin Outer Diameter
Measure the outer diameter of piston pin with a micrometer (A). 
 Piston to Piston Pin Oil Clearance
(Piston to piston pin oil clearance) = (Piston pin hole diameter) – (Piston pin outer diameter) - If the calculated value is out of the standard, replace piston and piston pin assembly.
- When replacing piston and piston pin assembly, refer to Description (GT-R certified NISSAN dealer).
NOTE: - Piston is available together with piston pin as assembly.
- Piston pin (piston pin hole) grade is provided only for the parts installed at the plant. For service parts, no piston pin grades can be selected. (Only “0” grade is available.)
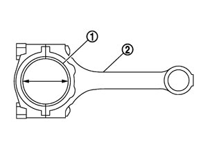
 PISTON RING SIDE CLEARANCE
- Measure the side clearance of piston ring (1) and piston ring groove with a feeler gauge (C).

- If the measured value exceeds the limit, replace piston ring, and measure again. If it still exceeds the limit, replace piston also.
 PISTON RING END GAP
- Check that the cylinder bore inner diameter is within the specification.

- Lubricate with new engine oil to piston (1) and piston ring (2), and then insert piston ring until middle of cylinder with piston, and measure the piston ring end gap with a feeler gauge (B).
- If the measured value exceeds the limit, replace piston ring, and measure again. If it still exceeds the limit, replace cylinder block.
 CONNECTING ROD BEND AND TORSION
- Check with a connecting rod aligner.

A
| : Bend
| B
| : Torsion
| C
| : Feeler gauge
|
- If it exceeds the limit, replace connecting rod assembly.
 CONNECTING ROD BIG END DIAMETER
- Install connecting rod bearing cap without installing connecting rod bearing, and tightening connecting rod bolts to the specified torque. Refer to Disassembly and Assembly (GT-R certified NISSAN dealer) for the tightening procedure.

- Measure the inner diameter of connecting rod big end with an inside micrometer.
- If out of the standard, replace connecting rod assembly.
 CONNECTING ROD BUSHING OIL CLEARANCE
 Connecting Rod Bushing Inner Diameter
Measure the inner diameter of connecting rod bushing with an inside micrometer (A). 
 Piston Pin Outer Diameter
Measure the outer diameter of piston pin with a micrometer (A). 
 Connecting Rod Bushing Oil Clearance
(Connecting rod bushing oil clearance) = (Connecting rod bushing inner diameter) – (Piston pin outer diameter) Factory installed parts grading:
- Service parts apply only to grade “0”.
 CYLINDER BLOCK DISTORTION
- Using a scraper, remove gasket on the cylinder block surface, and also remove engine oil, scale, carbon, or other contamination.
■ CAUTION ■ Be careful not to allow gasket flakes to enter engine oil or engine coolant passages.
- Measure the distortion on the cylinder block upper face at some different points in six directions (C, D, E, F, G and H) with a straightedge (A) and a feeler gauge (B).

- If it exceeds the limit, replace cylinder block.
 MAIN BEARING HOUSING INNER DIAMETER
- Install lower cylinder block (2) without installing main bearings, and tighten lower cylinder block bolts to the specified torque. Refer to Disassembly and Assembly (GT-R certified NISSAN dealer) for the tightening procedure.

- Measure the inner diameter of main bearing housing with a bore gauge.
- If out of the standard, replace cylinder block (1) and lower cylinder block as assembly.
NOTE: Cylinder block cannot be replaced as a single part, because it is machined together with lower cylinder block.
 PISTON TO CYLINDER BORE CLEARANCE
 Cylinder Bore Inner Diameter
- Using a bore gauge, measure cylinder bore for wear, out-of-round and taper at six different points on each cylinder. [(A) and (B) directions at (C), (D) and (E)] is in longitudinal direction of engine.

f
| : 10 mm (0.39 in)
| g
| : 60 mm (2.36 in)
| h
| : 135 mm (5.31 in)
|
- If the measured value exceeds the limit, or if there are scratches and/or seizure on the cylinder inner wall, replace cylinder block.
■ CAUTION ■ Cylinder bore is covered with coating. Never perform honing and boring.
NOTE: Oversize pistons are not service parts.
 Piston Skirt Diameter
Measure the outer diameter of piston skirt with a micrometer (A). 
 Piston‐to‐Cylinder Bore Clearance
Calculate by piston skirt diameter and cylinder bore inner diameter [direction (B), position (D)].  A
| : Longitudinal direction
| C
| : Top position
| E
| : Bottom position
| f
| : 10 mm (0.39 in)
| g
| : 60 mm (2.36 in)
| h
| : 135 mm (5.31 in)
|
(Clearance) = (Cylinder bore inner diameter) – (Piston skirt diameter).
 CRANKSHAFT MAIN JOURNAL DIAMETER
- Measure the outer diameter of crankshaft main journals with a micrometer.
- If out of the standard, measure the main bearing oil clearance. Then use undersize bearing. Refer to Main Bearing (GT-R certified NISSAN dealer).
 CRANKSHAFT PIN JOURNAL DIAMETER
 CRANKSHAFT OUT-OF-ROUND AND TAPER
- Measure the dimensions at four different points as shown in the figure on each main journal and pin journal with a micrometer.

- Out-of-round is indicated by the difference in the dimensions between (d) and (c) at (a) and (b).
- Taper is indicated by the difference in the dimensions between.
- If the measured value exceeds the limit, correct or replace crankshaft.
- If corrected, measure the bearing oil clearance of the corrected main journal and/or pin journal. Then select the main bearing and/or connecting rod bearing. Refer to Main Bearing (GT-R certified NISSAN dealer) and/or Connecting Rod Bearing (GT-R certified NISSAN dealer).
 CRANKSHAFT RUNOUT
- Place V-block on precise flat table, and support the journals on the both end of crankshaft.

- Place a dial indicator straight up on the No. 3 journal.
- While rotating crankshaft, read the movement of the pointer on a dial indicator. (Total indicator reading)
- If it exceeds the limit, replace crankshaft.
 CONNECTING ROD BEARING OIL CLEARANCE
 Method by Calculation
- Install connecting rod bearings (1) to connecting rod (2) and connecting rod cap, and tighten connecting rod bolts to the specified torque. Refer to Disassembly and Assembly (GT-R certified NISSAN dealer) for the tightening procedure.

- Measure the inner diameter of connecting rod bearing with an inside micrometer.
(Oil clearance) = (Connecting rod bearing inner diameter) – (Crankshaft pin journal diameter) - If the calculated value exceeds the limit, select proper connecting rod bearing according to connecting rod big end diameter and crankshaft pin journal diameter to obtain the specified bearing oil clearance. Refer to Connecting Rod Bearing (GT-R certified NISSAN dealer).
 Method of Using Plastigage
- Remove oil and dust on crankshaft pin journal and the surfaces of each bearing completely.
- Cut a plastigage slightly shorter than the bearing width, and place it in crankshaft axial direction, avoiding oil holes.
- Install connecting rod bearings to connecting rod and connecting rod bearing cap, and tighten connecting rod bolts to the specified torque. Refer to Disassembly and Assembly (GT-R certified NISSAN dealer) for the tightening procedure.
■ CAUTION ■ Never rotate crankshaft.
- Remove connecting rod bearing cap and bearings, and using the scale on the plastigage bag, measure the plastigage width.

NOTE: The procedure when the measured value exceeds the limit is same as that described in the “Method by Calculation”.
 MAIN BEARING OIL CLEARANCE
 Method by Calculation
- Install main bearings (3) to cylinder block (1) and lower cylinder block (2), and tighten lower cylinder block bolts to the specified torque. Refer to Disassembly and Assembly (GT-R certified NISSAN dealer) for the tightening procedure.

- Measure the inner diameter of main bearing with a bore gauge.
(Oil clearance) = (Main bearing inner diameter) – (Crankshaft main journal diameter) - If the calculated value exceeds the limit, select proper main bearing according to main bearing inner diameter and crankshaft main journal diameter to obtain the specified bearing oil clearance. Refer to Main Bearing (GT-R certified NISSAN dealer).
 Method of Using Plastigage
- Remove engine oil and dust on crankshaft journal and the surfaces of each bearing completely.
- Cut a plastigage slightly shorter than the bearing width, and place it in crankshaft axial direction, avoiding oil holes.
- Install main bearing to cylinder block and lower cylinder block, and tighten lower cylinder block bolts with lower cylinder block to the specified torque. Refer to Disassembly and Assembly (GT-R certified NISSAN dealer) for the tightening procedure.
■ CAUTION ■ Never rotate crankshaft.
- Remove lower cylinder block and bearings, and using the scale on the plastigage bag, measure the plastigage width.

NOTE: The procedure when the measured value exceeds the limit is same as that described in the “Method by Calculation”.
 MAIN BEARING CRUSH HEIGHT
- When lower cylinder block is removed after being tightened to the specified torque with main bearings (1) installed, the tip end of bearing must protrude. Refer to Disassembly and Assembly (GT-R certified NISSAN dealer) for the tightening procedure.

Standard
| : There must be crush height.
|
- If the standard is not met, replace main bearings.
 CONNECTING ROD BEARING CRUSH HEIGHT
- When connecting rod bearing cap is removed after being tightened to the specified torque with connecting rod bearings (1) installed, the tip end of bearing must protrude. Refer to Disassembly and Assembly (GT-R certified NISSAN dealer) for the tightening procedure.

Standard
| : There must be crush height.
|
- If the standard is not met, replace connecting rod bearings.
 LOWER CYLINDER BLOCK BOLT OUTER DIAMETER
- Measure the outer diameters (c), (d) at two positions as shown in the figure.

a
| : 20 mm (0.79 in)
| b
| : 30 mm (1.18 in)
| e
| : 10 mm (0.39 in)
|
- If reduction appears in (a) range, regard it (c).
Limit [(d) – (c)]
| : 0.11 mm (0.0043 in)
|
- If it exceeds the limit (large difference in dimensions), replace lower cylinder block bolt with new one.
 FLYWHEEL
- Check signal plate (A) and ring gear (B) for deformation or damage.


| : Engine front
|
■ CAUTION ■ - Never disassemble flywheel.
- Never place flywheel with signal plate facing down.
- When handling signal plate, take care not to damage or scratch it.
- Handle signal plate in a manner that prevents it from becoming magnetized.
- If anything is found, replace flywheel.
 OIL JET
- Check nozzle for deformation and damage.
- Blow compressed air from nozzle, and check for clogs.
- If it is not satisfied, clean or replace oil jet.
 OIL JET RELIEF VALVE
- Using a clean plastic stick, press check valve in oil jet relief valve. Check that valve moves smoothly with proper reaction force.

- If it is not satisfied, replace oil jet relief valve.
|