The actual shapes of Kent-Moore tools may differ from those of special service tools illustrated here.
Tool number (Kent-Moore No.) Tool name
| Description
|
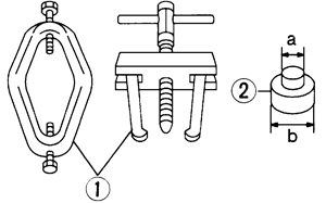
KV381054S0 (J-34286) Puller
|

| - Removing side oil seal (right side)
- Removing side bearing outer race
|
ST33400001 (J-26082) Drift a: 60 mm (2.36 in) dia. b: 47 mm (1.85 in) dia.
|

| - Installing side oil seal (right side)
- Installing front oil seal
|
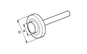
KV38102100 (J-25803-01) Drift a: 44 mm (1.73 in) dia. b: 36 mm (1.42 in) dia. c: 24.5 mm (0.965 in) dia.
|

| Installing side oil seal (left side)
|
KV38100200 ( — ) Drift a: 65 mm (2.56 in) dia. b: 49 mm (1.93 in) dia.
|

| Installing side shaft oil seal
|
ST30032000 (J-26010-01) Drift a: 80 mm (3.15 in) dia. b: 38 mm (1.50 in) dia. c: 31 mm (1.22 in) dia.
|

| - Installing side shaft
- Installing pinion rear bearing inner race
|
ST3306S001 (J-22888-D) Differential side bearing puller set 1: ST33051001 (J-22888-20) Puller 2: ST33061000 (J-8107-2) Base a: 28.5 mm (1.122 in) dia. b: 38 mm (1.50 in) dia.
|

| Removing and installing side bearing inner race
|
ST33230000 (J-25805-01) Drift a: 51 mm (2.01 in) dia. b: 41 mm (1.61 in) dia. c: 28.5 mm (1.122 in) dia.
|

| Installing side bearing inner race
|
ST30611000 (J-25742-1) Drift bar
|

| Installing side bearing outer race (Use with KV31103000)
|
KV31103000 (J-38982) Drift a: 49 mm (1.93 in) dia. b: 70 mm (2.76 in) dia.
|

| Installing side bearing outer race
|
ST3127S000 (J-25765-A) Preload gauge
|

| Measuring pinion bearing preload and total preload
|
(J-8129) Spring gauge
|

| Measuring turning torque
|
ST37820000 ( — ) Drift a: 39 mm (1.54 in) dia. b: 72 mm (2.83 in) dia.
|

| Installing pinion front and rear bearing outer race
|
KV38102510 ( — ) Drift a: 71 mm (2.80 in) dia. b: 65 mm (2.56 in) dia.
|

| Installing front oil seal
|