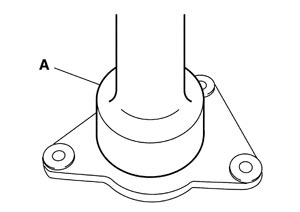
1.Using the drift (A) [SST: KV38100200 ( — )], install side shaft oil seal.

■ CAUTION ■ - Never reuse oil seal.
- When installing, never incline oil seal.
- Apply multi-purpose grease onto oil seal lips, and gear oil onto the circumference of oil seal.
2.Install dust seal.
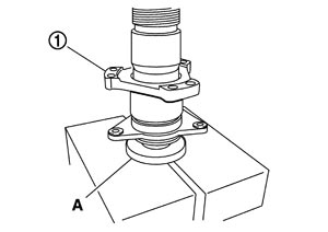
3.Support side shaft bearing with the drift (A) [SST: ST30032000 (J-26010-01)], then press side shaft (1) into the side shaft bearing using a press.

4.Apply multi-purpose grease to O-ring, and install it to extension tube retainer.■ CAUTION ■ Never reuse O-ring.
|