1.Drain gear oil, if necessary.
    2.Remove carrier cover mounting bolts.
    3.Remove carrier cover from gear carrier by tapping carrier cover with plastic hammer.
    ■ CAUTION ■
    • Never damage the carrier cover and gear carrier.


    4.Remove side retainer.
    PDIA0670E.JPG
    5.Remove side bearing adjusting shim.
    6.Remove O-ring from side retainer.
    7.Remove differential case assembly from gear carrier.
    PDIA0671E.JPG

    8.Remove side oil seal (right side) from side retainer.
    PDIA0672E.JPG

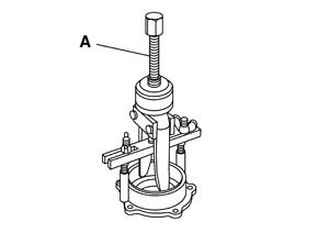
    9.Remove side bearing outer race with puller (A) [SST: KV381054S0 (J-34286)].
    PDIA0796J.JPG
    10.Remove O-ring from gear carrier.
    11.Remove side oil seal (left side) from gear carrier.
    12.Remove side bearing outer race with puller (A) [SST: KV381054S0 (J-34286)].
    PDIA0797J.JPG

    13.Remove side bearing inner race.
    PDIA0758J.JPG
    To prevent damage to bearing, engage puller jaws in groove ().
    A: Puller [SST: ST33051001 (J-22888-20)]
    B: Base [SST: ST33061000 (J-8107-2)]

    ■ CAUTION ■
    • To prevent damage to the side bearing and drive gear, place copper plates between these parts and vise.
    • It is not necessary to remove side bearing inner race except if it is replaced.


    14.For proper reinstallation, paint matching marks on one differential case assembly.
    PDIA0496E.JPG
    ■ CAUTION ■
    For matching marks, use paint. Never damage differential case and drive gear.
    15.Remove drive gear mounting bolts.
    16.Tap drive gear off differential case assembly with a soft hammer.
    ■ CAUTION ■
    Tap evenly all around to keep drive gear from bending.

    17.Remove lock pin of pinion mate shaft with a punch from drive gear side.
    PDIA0759J.JPG

    18.Remove pinion mate shaft.
    SDIA0031J.JPG

    19.Turn pinion mate gear, then remove pinion mate gears, pinion mate thrust washers, side gears and side gear thrust washers from differential case.
    SDIA0032J.JPG