1.Install side gear thrust washers with the same thickness as the ones installed prior to disassembly or reinstall the old ones on the side gears.

2.Install side gears and thrust washers into differential case.

■ CAUTION ■ - Never reuse circular clip.
- Make sure that the circular clip is installed to side gear (side retainer side).
3.Align 2 pinion mate gears in diagonally opposite positions, then rotate and install them into differential case after installing thrust washer to pinion mate gear.
4.Align the lock pin holes on differential case with shaft, and install pinion mate shaft.

5.Measure side gear end play. If necessary, select the appropriate side gear thrust washers.
(1)Place differential case straight up so that side gear to be measured comes upward.

(2)Using feeler gauge, measure the clearance between side gear back and differential case at 3 different points, while rotating side gear. Average the 3 readings, and then measure the clearance of the other side as well.

■ CAUTION ■ To prevent side gear from tilting, insert feeler gauges with the same thickness from both sides.
(3)If the back clearance is outside the specification, use a thicker/thinner side gear thrust washer to adjust.
When the back clearance is large:
| Use a thicker thrust washer.
| When the back clearance is small:
| Use a thinner thrust washer.
|
■ CAUTION ■ Select a side gear thrust washer for right and left individually.
6.Drive a lock pin into pinion mate shaft, using a punch.
 Make sure lock pin is flush with differential case.■ CAUTION ■ Never reuse lock pin.
7.Align the matching mark of drive gear with the mark of differential case, then place drive gear.

8.Apply thread locking sealant into the thread hole of drive gear.

■ CAUTION ■ Drive gear back and threaded holes must be cleaned and degreased sufficiently.
9.Install drive gear on the mounting bolts.

■ CAUTION ■ Tighten bolts in a crisscross fashion.
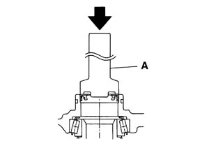
10.Press side bearing inner races to differential case, using the drift and the base.

A: Drift [SST: ST33230000 (J-25805-01)]
| B: Base [SST: ST33061000 (J-8107-2)]
|
■ CAUTION ■ Never reuse side bearing inner race.
11.Press-fit side bearing outer race into side retainer with the drift and the drift bar.

A: Drift bar [SST: ST30611000 (J-25742-1)]
| B: Drift [SST: KV31103000 (J-38982)]
|
■ CAUTION ■ - At first, using a hammer, tap bearing outer race until it becomes flat to side retainer.
- Never reuse side bearing outer race.
12.Press-fit side bearing outer race into gear carrier with the drift and the drift bar.

A: Drift bar [SST: ST30611000 (J-25742-1)]
| B: Drift [SST: KV31103000 (J-38982)]
|
■ CAUTION ■ - At first, using a hammer, tap bearing outer race until it becomes flat to gear carrier.
- Never reuse side bearing outer race.
13.Place the differential case assembly into gear carrier.

14.Measure side bearing preload. If necessary, select the appropriate side bearing adjusting shim. Refer to Adjustment.
15.Install selected side bearing adjusting shim (1). Refer to Adjustment.

16.Apply multi-purpose grease to O-ring (2), and install it to side retainer.■ CAUTION ■ Never reuse O-ring.
17.Install side retainer assembly to gear carrier.
18.Install side retainer mounting bolts.

19.Using the drift (A) [SST: ST33400001 (J-26082)], press-fit side oil seal so that its surface comes face‐to‐face with the end surface of the side retainer.

■ CAUTION ■ - Never reuse oil seal.
- When installing, never incline oil seal.
- Apply multi-purpose grease onto oil seal lips, and gear oil onto the circumference of oil seal.
20.Using the drift (A) [SST: KV38102100 (J-25803-01)], press-fit side oil seal so that its surface comes face-to-face with the end surface of gear carrier.

■ CAUTION ■ - Never reuse oil seal.
- When installing, never incline oil seal.
- Apply multi-purpose grease onto oil seal lips, and gear oil onto the circumference of oil seal.
21.Apply multi-purpose grease to O-ring, and install it to gear carrier.■ CAUTION ■ Never reuse O-ring.
22.Check and adjust drive gear runout, tooth contact, drive gear to drive pinion backlash, and total preload torque. Refer to Adjustment.Recheck above items. Readjust as described above, if necessary.
23.Install carrier cover and gasket on gear carrier and tighten mounting bolts.

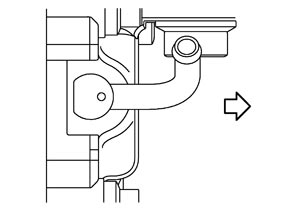
24.Install the breather connector with the paint mark positioned toward the vehicle front.

: Vehicle front
|
■ CAUTION ■ Never reuse the air breather.
|