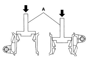
1.Install pinion front and rear bearing outer races using drift (A) [SST: ST37820000 ( — )].

■ CAUTION ■ - At first, using a hammer, tap bearing outer race until it becomes flat to gear carrier.
- Never reuse pinion front and rear bearing outer race.
2.Install pinion height adjusting washer (1) to drive pinion.

When hypoid gear set has been replaced
When hypoid gear set has been reused
- Install the removed pinion height adjusting washer or same thickness washer to drive pinion.
■ CAUTION ■ Pay attention to the direction of pinion height adjusting washer.
3.Press pinion rear bearing inner race (1) to drive pinion, using drift (A) [SST: ST30032000 (J-26010-01)].

■ CAUTION ■ Never reuse pinion rear bearing inner race.
4.Assemble a new drive pinion adjusting washer and the pinion bearing adjusting washer with the same thicknesses as the ones removed for disassembly or the removed washers. If the adjusting washers with appropriate thicknesses have been selected, use the ones selected.
5.Apply gear oil to pinion rear bearing, and assemble drive pinion into gear carrier.
6.Apply gear oil to pinion front bearing, and assemble pinion front bearing inner race to drive pinion assembly.■ CAUTION ■ Never reuse pinion front bearing inner race.
7.Using suitable spacer (A), press the pinion front bearing inner race to drive pinion as far as drive pinion nut can be tightened.

8.Adjust pinion bearing preload. If necessary, select the appropriate drive pinion adjusting washer and drive pinion bearing adjusting washer. Refer to Adjustment (GT-R certified NISSAN dealer).
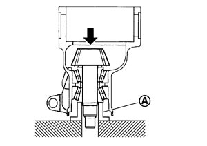
9.Using the drifts, install front oil seal as shown in figure.

A: Drift [SST: ST33400001 (J-26082)]
| B: Drift [SST: KV38102510 ( — )]
|
■ CAUTION ■ - Never reuse oil seal.
- When installing, never incline oil seal.
- Apply multi-purpose grease onto oil seal lips, and gear oil onto the circumference of oil seal.
10.Install companion flange (1).

NOTE: When reusing drive pinion, align the matching mark (B) of drive pinion with the matching mark (A) of companion flange, and then install companion flange (1).
11.Apply anti-corrosion oil to the thread and seat of new drive pinion lock nut, and temporarily tighten drive pinion lock nut to drive pinion.

■ CAUTION ■ Never reuse drive pinion lock nut.
12.Tighten to drive pinion lock nut, while adjusting pinion bearing preload torque.
A: Preload gauge [SST: ST3127S000 (J-25765-A)]
|
■ CAUTION ■ - Adjust to the lower limit of the drive pinion lock nut tightening torque first.
- After adjustment, rotate drive pinion back and forth 2 to 3 times to check for unusual noise, rotation malfunction, and other malfunctions.
13.Install differential case assembly. Refer to Assembly (GT-R certified NISSAN dealer).■ CAUTION ■ Never install carrier cover yet.
14.Check and adjust drive gear runout, tooth contact, drive gear to drive pinion backlash, and companion flange runout. Refer to Adjustment (GT-R certified NISSAN dealer) and Adjustment (GT-R certified NISSAN dealer).Recheck above items. Readjust the above description, if necessary.
15.Check total preload torque. Refer to Adjustment (GT-R certified NISSAN dealer).
16.Install carrier cover. Refer to Assembly (GT-R certified NISSAN dealer).
|