Honda 2001 Driveline/Axle16-1
Intermediate Shaft Disassembly16-20
Previous Page Next Page



Intermediate Shaft Disassembly16-20

Special Tools Required
  • Oil seal driver 07947-SB00100
  • Half shaft base 07NAF-SR30101
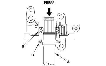
    1. Remove the set ring (A), outer seal (B), and external snap ring (C).


    2. Press the intermediate shaft (A) out of the intermediate shaft bearing (B) using a press. Be careful not to damage the metal rings (C) on the intermediate shaft during disassembly.


    1. Remove the internal snap ring.


    2. Press the intermediate shaft bearing (A) out of the bearing support (B) using the special tools and a press.




    Honda 2001 Driveline/Axle16-1
    Intermediate Shaft Disassembly16-20
    Previous Page Next Page