Honda 2001 Body Electrical22A-1
Relays 22A-60
Previous Page Next Page



Relays 22A-60

Power Relay Test

Use this chart to identify the type of relay, then do the test listed for it.

NOTE: See (see page 22A-112) for the turn signal/hazard relay input test.

Relay

Test

A/C compressor clutch relay Normally-open type A
A/T reverse relay
Condenser fan relay
Front fog light relay
Headlight relay 1
Headlight relay 2
Horn relay
PGM-FI main relay 1
Power window relay
Radiator fan relay
Rear accessory power socket relay
Seat heater main relay
Security horn relay
Starter cut relay (A/T)
Taillight relay
Blower motor relay Normally-open type B
Rear window defogger relay
PGM-FI main relay 2 Five terminal type
Key interlock relay
Shift lock relay
Sunroof open relay
Sunroof open relay
Security starter cut relay




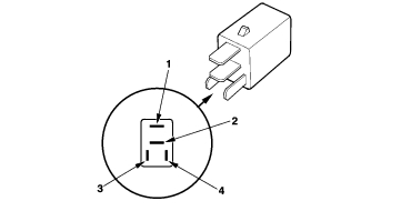
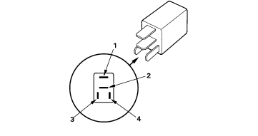
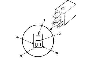
Normally-open type A:

Check for continuity between the terminals.

  • There should be continuity between the No. 1 and No. 2 terminals when power and ground are connected to the No. 3 and No. 4 terminals.
  • There should be no continuity between the No. 1 and No. 2 terminals when power is disconnected.


  • type 1:


    type 2:


    PGM-FI main relay 1
    type 1:


    type 2:


    22A-61

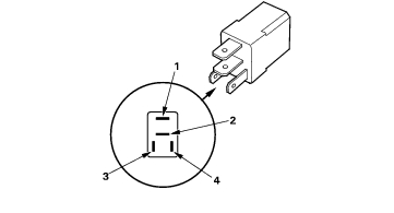
    Normally-open type B:

    Check for continuity between the terminals.

  • There should be continuity between the No. 1 and No. 3 terminals when power and ground are connected to the No. 2 and No. 4 terminals.
  • There should be no continuity between the No. 1 and No. 3 terminals when power is disconnected.


  • Rear window defogger relay


    Blower motor relay
    type 1:


    type 2:


    Power Relay Test (cont'd) 22A-62

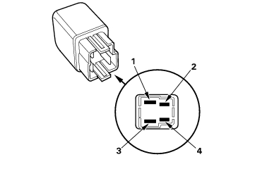
    Five terminal type

    Check for continuity between the terminals.

  • There should be continuity between the No. 1 and No. 2 terminals when power and ground are connected to the No. 3 and No. 5 terminals.
  • There should be continuity between the No. 1 and No. 4 terminals when power is disconnected.


  • PGM-FI main relay 2
    type 1:


    type 2:




    Honda 2001 Body Electrical22A-1
    Relays 22A-60
    Previous Page Next Page