Honda 2001 A/T
Transmission End Cover14-192
Previous Page Next Page



Transmission End Cover14-192

End Cover Removal

Exploded View -4WD


14-193

Exploded View -2WD


End Cover Removal (cont'd)14-194

Special Tools Required

Mainshaft holder set 07PAB-0010000

NOTE: Refer to the Exploded View as needed during the following procedure.

  1. Remove the ATF cooler lines.
  2. Remove the A/T clutch pressure control solenoid valve A, then remove the ATF pipe, ATF joint pipes, and gasket.
  3. Remove the A/T clutch pressure control solenoid valves B and C, then remove the ATF joint pipes and gasket.
  4. Remove the transmission range switch cover.
  5. Remove the transmission range switch harness clamps from the clamp brackets, then remove the transmission range switch.
  6. Remove the end cover.
  7. Slip the special tool onto the mainshaft.


  8. Engage the park pawl with the park gear.
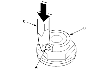
  9. Cut the lock tab (A) of the each shaft locknut (B) using a chisel (C). Then remove the locknuts and conical spring washers from each shaft.
  10. NOTE:
  11. Countershaft and secondary shaft locknuts have left-hand threads.
  12. Keep all of the chiseled particles out of the transmission.
  13. Clean the old mainshaft and countershaft locknuts; they are used to install the press fit idler gear on the mainshaft, and park gear on the countershaft.


  14. Remove the special tool from the mainshaft.

14-195

  1. Set a two-jaw (or three-jaw) puller (A) on the countershaft (B) with putting a collar (C) between the puller and countershaft, then remove the park gear (D).


  2. Install 6 x 1.0 mm bolts (A) on the mainshaft idler gear (B). Set a puller (C) on the mainshaft (D) with putting a collar (E) between the puller and mainshaft, then remove the mainshaft idler gear.


  3. Remove the park pawl, park pawl spring, park pawl shaft, and stop shaft.
  4. Remove the park lever from the control shaft.

Park Lever Stop Inspection and Adjustment14-195

  1. Set the park lever in the [P] position.
  2. Measure the distance (A) between the park pawl shaft (B) and the park lever roller pin (C).

STANDARD: 57.7 - 58.7 mm (2.27 - 2.31 in.)


  1. If the measurement is out of standard, select and install the appropriate park lever stop (A) from the table below.


    PARK LEVER STOP

    Mark

    Part Number

    B

    C

    1
    24537-PA9-003
    11.00 mm (0.433 in.)
    11.00 mm (0.433 in.)
    2
    24538-PA9-003
    10.80 mm (0.425 in.)
    10.65 mm (0.419 in.)
    2
    24539-PA9-003
    10.60 mm (0.417 in.)
    10.30 mm (0.406 in.)




  1. After replacing the park lever stop, make sure the distance is within tolerance.

Idler Gear Shaft Bearing Replacement14-196

Special Tools Required
  • Adjustable bearing remover set 07JAC-PH80000
  • Handle driver 07749-0010000
  • Driver attachment, 52 x 55 mm 07746-0010400
    1. Remove the idler gear shaft bearing (A) from the end cover (B) with the special tool.


    2. Install the new bearing in the end cover with the special tools.


    Control Shaft Oil Seal Replacement14-196

    Special Tools Required
  • Handle driver 07749-0010000
  • Driver attachment, 22 x 24 mm 07746-0010800
    1. Remove the oil seal (A) from the end cover (B).


    2. Install the new oil seal flush to the end cover with the special tools.


    Control Shaft Bearing Replacement14-197

    Special Tools Required
  • Handle driver 07749-0010000
  • Driver attachment, 22 x 24 mm 07746-0010800
    1. Remove the oil seal from the end cover, then remove the bearing.


    2. Install the new bearing flush to the end cover with the special tools.


    3. Install the new oil seal (see page 14-196) .

    ATF Feed Pipes Replacement14-197

    1. Remove the snap rings (A), ATF feed pipes (B) and feed pipe flanges (C) from the end cover (D).


    2. Install the new O-ring (E) over the ATF feed pipe.
    3. Install the ATF feed pipe in the end cover with aligning the feed pipe tabs with the indentations in the end cover.
    4. Install the new O-ring (F) in the end cover, then install the feed pipe flange over the ATF feed pipe and O-ring.
    5. Secure the ATF feed pipe and feed pipe flange with the snap ring.


    Honda 2001 A/T
    Transmission End Cover14-192
    Previous Page Next Page