Honda 2001 Engine Electrical04-1
Cruise Control04-39
Previous Page Next Page



Cruise Control04-39

Component Location Index


1

CRUISE CONTROL INDICATOR (Built into gauge assembly)

2

CRUISE CONTROL SET/RESUME/CANCEL SWITCH

Test/Replacement, page 04-46

3

BRAKE PEDAL POSITION SWITCH

Test, page 22A-99 ; Pedal Height Adjustment, page 19A-5

4

CLUTCH PEDAL POSITION SWITCH (M/T)

Test, page 04-49 ; Clutch Pedal Adjustment, page 12-4

5

CRUISE CONTROL MAIN SWITCH

Test/Replacement, page 04-46

6

CRUISE CONTROL UNIT

Input Test, page 04-44





7

CRUISE CONTROL ACTUATOR

Test, page 04-47 ; Replacement, page 04-48

8

TRANSMISSION RANGE SWITCH (A/T)

Test, page 14-168

9

ACTUATOR CABLE

Adjustment, page 04-49




Circuit Diagram04-40


Symptom Troubleshooting Index04-41

NOTE:

  • The numbers in the table show the troubleshooting sequence.
  • Before troubleshooting.
  • check the No. 10 (7.5A) and No. 4 (10A) fuses in the under-dash fuse/relay box, and the No. 7 (15A) fuse in the under-hood fuse/relay box.
  • check that the horn sounds.
  • check the tachometer to see if it works properly.

    Symptom

    Diagnostic procedure

    Also check for

    Cruise control cannot be set
    1. Check main switch (see page 04-46)
    2. Check SET/RESUME/CANCEL switch (see page 04-46)
    3. Test brake pedal position switch (see page 22A-99) and check its adjustment (see page 19A-5 )
    4. Test clutch pedal position switch (see page 04-49) and check its adjustment (M/T) (see page 12-4)
    5. Check transmission range switch (A/T) (see page 14-168)
    6. Check control unit (see page 04-44)
  • Poor ground: G101 (A/T), G501 (M/T)
  • Open circuit, loose or disconnected terminals: LT GRN, GRN/YEL, GRY/RED, BLU, WHT/GRN (A/T), LT BLU
    (M/T), BLU/WHT
  • Cruise control can be set but indicator light does not go on
    1. Check cruise control indicator bulb in gauge assembly (see page 22A-73)
    2. Check control unit (see page 04-44)
  • Poor ground: G501
  • Open circuit, loose or disconnected terminals: YEL, BLU/YEL
  • Cruise speed is noticeably higher or lower than what was set
    1. Check Vehicle Speed Sensor (VSS) (see page 22A-75)
    2. Check actuator (see page 04-47)
    3. Check control unit (see page 04-44)
     
    Excessive overshooting or undershooting when trying to set speed
    1. Check actuator (see page 04-47)
    2. Check Vehicle Speed Sensor (VSS) (see page 22A-75)
    3. Check control unit (see page 04-44)
     
    Speed fluctuation on a flat road with cruise control set
    1. Check Vehicle Speed Sensor (VSS) (see page 22A-75)
    2. Check actuator (see page 04-47)
    3. Check control unit (see page 04-44)
     
    Vehicle does not decelerate or accelerate accordingly when SET/RESUME/CANCEL button is pushed
    1. Check SET/RESUME/CANCEL switch (see page 04-46)
    2. Check control unit (see page 04-44)
    Open circuit, loose or disconnected terminals: GRY/RED, LT GRN/BLK
    Set speed not cancelled (engine rpm stays high) when clutch pedal is pushed (M/T)
    1. Test clutch pedal position switch (see page 04-49) and check its adjustment (see page 12-4)
    2. Check control unit (see page 04-44)
    Short to ground in the LT BLU wire
    Set speed not cancelled when shift lever is moved to Neutral position (A/T)
    1. Check transmission range switch (see page 14-168)
    2. Check control unit (see page 04-44)
    Short to ground in the WHT/ GRN wire
    Set speed not cancelled when brake pedal is pushed
    1. Test brake pedal position switch (see page 22A-99) and check its adjustment (see page 19A-5)
    2. Check control unit (see page 04-44)
    Open circuit, loose or disconnected terminals: WHT/BLK




  • Symptom Troubleshooting Index (cont'd)04-42

    Symptom

    Diagnostic procedure

    Also check for

    Set speed, does not cancel when main switch is pushed OFF
    1. Check main switch (see page 04-46)
    2. Check control unit (see page 04-44)
    Short to power in the LT GRN wire.
    Set speed, does not cancel when CANCEL button is pushed
    1. Check SET/RESUME/CANCEL switch (see page 04-46)
    2. Check control unit (see page 04-44)
    Open circuit, loose or disconnected terminals: GRY/RED, LT GRN/BLK
    Set speed will not resume when RESUME button is pushed (with main switch on, when set speed is temporarily cancelled by pressing the brake pedal)
    1. Check SET/RESUME/CANCEL switch (see page 04-46)
    2. Check control unit (see page 04-44)
    Open circuit, loose or disconnected terminals: LT GRN/BLK
    The transmission shifts down slower than normal when going up a hill with the cruise control on (A/T)
    1. Troubleshoot the cruise control communication circuit (see page 04-43)
    Open circuit, loose or disconnected terminals: BLU/ORN




    Cruise Control Communication Circuit Troubleshooting04-43

    1. Start the engine.
    2. Turn on the cruise control main switch, then drive the vehicle to speeds over 25 mph (40 km/h) with the cruise control.

    Does the cruise control operate?


    Yes : Go to step 3.


    No : Check the cruise control unit (see page 04-44) or cruise control actuator.


    1. Turn the ignition switch OFF.
    2. Disconnect the negative cable from the battery.
    3. Disconnect Powertrain Control Module (PCM) connector D (17P) and cruise control unit 14P connector.
    4. Check for continuity between PCM connector terminal D12 and body ground.

    PCM CONNECTOR D (17P)


    Wire side of female terminals

    Is there continuity?


    Yes : Repair short to ground in the wire between PCM connector terminal D12 and the cruise control unit 14P connector terminal No. 8.


    No : Go to step 7.


    1. Reconnect PCM connector D (17P) and the cruise control unit 14P connector.
    2. Connect the negative cable to the battery.
    3. Connect a voltmeter between cruise control unit 14P connector terminal No. 8 and body ground. Test-drive the vehicle at speeds over 25 mph (40 km/h) with the cruise control set, and watch the voltmeter.

    CRUISE CONTROL UNIT 14P CONNECTOR


    Wire side of female terminals

    Is there about 1 V?


    Yes : Go to step 10.


    No : Substitute a known-good cruise control unit. If the system works properly, replace the cruise control unit.


    1. Connect a voltmeter between PCM connector terminal D12 and body ground. Drive the vehicle at speeds over 25 mph (40 km/h) with the cruise control set, and watch the voltmeter.

    PCM CONNECTOR D (17P)


    Wire side of female terminals

    Is there about 1 V?


    Yes : Check for loose connectors of the BLU/ORN wire between the cruise control unit and the PCM. If necessary replace the PCM and recheck (see page 11-4).


    No : Repair open in the wire between PCM connector terminal D12 and the control unit 14P connector terminal No. 8.


    Control Unit Input Test04-44

    SRS components are located in this area. Review the SRS component locations (see page 23-14) and precautions and procedures (see page 23-16) in the SRS section before performing repairs or service.

    1. Disconnect the 14P connector from the control unit.
    2. Inspect the connector and socket terminals to be sure they are all making good contact.
    3. If the terminals are bent, loose, or corroded, repair them as necessary, and recheck the system.
    4. If the terminals look OK, go to step 3.


    5. With the 14P connector disconnected, make these input tests.

      Cavity

      Wire

      Test Condition

      Test: Desired Result

      Possible cause if result is not obtained

      1 BRN/WHT Connect battery power Check the operation of the magnetic clutch: Clutch should click and output link should be locked.
    6. Faulty actuator
    7. Poor ground (G201)
    8. An open in the wire
    9. Short to ground
    10. 2 BLU Ignition switch ON (II), main switch ON and brake pedal pressed, then released Check for voltage to ground: There should be 0 V with the pedal pressed and battery voltage with the pedal released.
    11. Faulty brake pedal position switch
    12. An open in the wire
    13. Open in cruise control main switch
    14. Blown No. 4 (10A) fuse in the under-dash fuse/relay box
    15. 3 BLK Under all conditions Check for continuity to ground: There should be continuity.
    16. Poor ground (G501)
    17. An open in the wire
    18. 4 GRN/YEL Ignition switch ON (II) Check for voltage to ground: There should be battery voltage.
    19. Blown No. 4 (10A) fuse in the under-dash fuse/relay box
    20. An open in the wire
    21. 5 WHT/BLK Brake pedal pressed, then released Check for voltage to ground: There should be battery voltage with the pedal pressed, and 0 V with the pedal released.
    22. Blown No. 7 (15A) fuse in the under-hood fuse/relay box
    23. Faulty brake pedal position switch
    24. An open in the wire



    04-45

    Cavity

    Wire

    Test Condition

    Test: Desired Result

    Possible cause if result is not obtained

    6 GRY/RED Set button pushed Check for voltage to ground: There should be battery voltage. When testing terminal No. 6, there should be no voltage on terminal No. 7.
  • Blown No. 7 (15A) fuse in the under-hood fuse/relay box
  • Faulty horn relay
  • Faulty set/resume/cancel switch
  • Faulty cable reel
  • An open in the wire
  • 7 LT GRN/BLK Resume button pushed Check for voltage to ground: There should be battery voltage. When testing terminal No. 7, there should be no voltage on terminal No. 6.
    9 BRN Connect battery power to the BRN terminal and ground to the BRN/YEL terminal Check the operation of the actuator motor: You should be able to hear the motor.
  • Faulty actuator
  • An open in the wire
  • 11 BRN/YEL
    10 BLU/YEL Ignition switch ON (II) Attach to ground: Cruise indicator light in the gauge assembly should comes on.
  • Blown No. 10 (7.5A) fuse in the under-dash fuse/relay box
  • Faulty gauge assembly
  • An open in the wire
  • 12 BLU/WHT Ignition switch ON (II) and main switch ON; raise the front of the vehicle, and rotate one wheel slowly while holding the other wheel Check for voltage between the BLU/WHT (+) and BLK (-) terminals: There should be 0 - 5 V or more repeatedly.
  • Faulty ECM/PCM
  • An open in the wire
  • Short to ground
  • 13 LT GRN Ignition switch ON (II) and main switch ON Check for voltage to ground: There should be battery voltage.
  • Blown No. 4 (10A) fuse in the under-dash fuse/relay box
  • Faulty main switch
  • An open in the wire
  • 14 WHT/GRN (A/T) LT BLU (M/T) A/T: Shift lever in [D] or [D3] M/T: Clutch pedal released Check for continuity to ground: There should be continuity. NOTE: There should be no continuity when the clutch pedal is pressed or when the shift lever is in other positions.
  • Faulty transmission range switch
  • Faulty clutch pedal position switch
  • Poor ground (M/T: G501, A/T: G101)
  • An open in the wire
  • 8 BLU/ORN Reconnect the cruise control unit 14P connector, start the engine, turn the main switch ON and drive the vehicle to speeds over 25 mph (40 km/h) with the cruise control set. Check for voltage to ground: There should be about 1V
  • Loose connection at the PCM
  • Faulty cruise control unit
  • Short to ground



    1. If any test indicates a problem, find and correct the cause, then recheck the system. If all the input tests prove OK, the control unit may be faulty. Substitute a known-good control unit and retest. If the system works properly, replace the control unit.

    Main Switch Test/Replacement04-46

    1. Detach the three clips (A), to create clearance between the dashboard and dashboard panel.


    2. Release the clips of the main switch, and push the main switch (B) out of the panel, then disconnect the 5P connector (C) from the main switch.
    3. Check for continuity between the terminals in each switch position according to the table. If there is no continuity, replace the illumination bulbs (D) or the switch.


    Set/Resume/Cancel Switch Test/Replacement04-46

    1. Remove the two screws, then remove the switch.


    2. Check for continuity between the terminals in each switch position according to the table.
    3. If there is continuity, and it matches the table, but switch failure occurred on the cruise control unit input test, check and repair the wire harness on the switch circuit.
    4. If there is no continuity in one or both positions, replace the switch.


    Actuator Test04-47

    1. Disconnect the 4P connector (A) from the actuator (B).


    2. Remove the cover (A), and check the output linkage (B) for smooth movement.


    3. Connect battery power to the No. 2 terminal and ground to the No. 1 terminal.
    4. Check for a clicking sound from the magnetic clutch. The output linkage should be locked.
    5. If the output linkage is not locked, replace the actuator assembly.
    6. Check the operation of the actuator motor in each output linkage position according to the table. You should be able to hear the motor.

      Battery power polarities Output linkage position
      (+) (-) FULL CLOSE MIDDLE POSITION FULL OPEN
      No. 4 Terminal No. 3 Terminal The motor runs. The motor runs. The motor stops.
      No. 3 Terminal No. 4 Terminal The motor stops. The motor runs. The motor runs.





    7. If the actuator motor does not operate as specified, replace the actuator assembly.

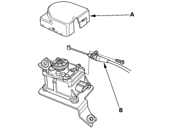
    Actuator/Cable Replacement04-48

    1. Remove the throttle cable cover (A), fully open the cruise control link by hand, then remove the cruise control cable (B) from link. Loosen the locknut (C), and remove the cable from the bracket.


    2. Disconnect the 4P connector, and remove the two bolts securing the actuator.


    3. Remove the actuator cover (A), then remove the actuator cable (B) from the actuator.

    LHD models:


    RHD models:


    1. Install in the reverse order of removal, and adjust the free play at the throttle linkage after connecting the actuator cable.

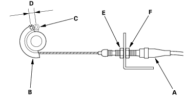
    Actuator Cable Adjustment04-49

    1. Check that the actuator cable (A) moves smoothly with no binding or sticking.


    2. Measure the amount of movement of the output linkage (B) until the engine speed starts to increase. At first, the output linkage should be located at the fully closed position (C). The free play (D) should be 3.75 ± 0.5 mm (0.15 ± 0.02 in.).
    3. If the free play is not within specs, loosen the locknut (E), and turn the adjusting nut (F) until the free play is as specified, then retighten the locknut.

    Clutch Pedal Position Switch Test04-49

    1. Disconnect the 2P connector from the clutch pedal position switch (A).

    CLUTCH PEDAL POSITION SWITCH 2P CONNECTOR


    1. Remove the clutch pedal position switch.
    2. Check for continuity between the terminals according to the table.
    3. If the continuity is not as specified, replace the clutch pedal position switch.
    4. If OK, install the clutch pedal position switch and adjust the pedal height (see page 12-4) .




    Honda 2001 Engine Electrical04-1
    Cruise Control04-39
    Previous Page Next Page