Honda 2001 Driveline/Axle16-1
Front Driveshafts Reassembly16-9
Previous Page Next Page



Front Driveshafts Reassembly16-9

Exploded View


Front Driveshafts Reassembly (cont'd)16-10

Special Tools Required
  • Boot band tool, KD-3191 or equivalent, commercially available
  • Boot band pincers, Kent-Moore J-35910 or equivalent, commercially available
  • NOTE: Refer to the Exploded View as needed during this procedure.

    Inboard Joint Side:

    1. Wrap the splines with vinyl tape (A) to prevent damage to the inboard boot.


    2. Install the inboard boot onto the driveshaft then remove the vinyl tape. Be careful not to damage the inboard boot.

    1. Install the spider (A) onto the driveshaft by aligning the marks (B) on the spider and the end of the driveshaft.


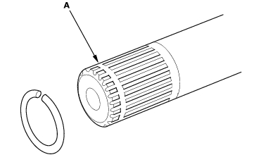
    2. Fit the circlip (C) into the driveshaft groove. Always rotate the circlip in its groove to make sure it is fully seated.
    3. Fit the rollers (A) onto the spider (B) with their high shoulders facing outward, and note these items:
    4. Reinstall the rollers in their original positions on the spider by aligning the marks (C).
    5. Hold the driveshaft pointed up to prevent the rollers from falling off.


    16-11

    1. Pack the inboard joint with the joint grease included in the new driveshaft set.

    Grease quantity

    Inboard joint: 150 - 160 g (5.3 - 5.7 oz)


    1. Fit the inboard joint onto the driveshaft, and note these items:
    2. Reinstall the inboard joint onto the driveshaft by aligning the marks (A) on the inboard joint and the rollers.
    3. Hold the driveshaft with the inboard joint pointing up to prevent it from falling off.


    1. Make sure the ends of the boot are seated in the grooves in the driveshaft and joint, then install the boot bands.
    2. For the double loop type, go to step 12. (Replacement boot bands only)
    3. For the low profile type, go to step 9.
      (U.K. Product only)
    4. Install the new low profile band (A) onto the boot (B), then hook the tab (C) of the band.


    5. Close the hook portion of the band with a commercially available boot band pincers (A), then hook the tabs (B) of the band.


    6. Install the boot band on the other end of the boot, and repeat steps 9 and 10.

    Front Driveshafts Reassembly (cont'd)16-12

    1. Set the new double loop band (A) onto the boot with the band end toward the front of the vehicle.


    2. Pull up the slack in the band by hand.
    3. Make a mark (A) on the band 10 - 14 mm
      (0.4 - 0.6 in.) from the clip (B).


    1. Thread the free end of the band through the nose section of the commercially available boot band tool KD-3191 or equivalent (A), and into the slot on the winding mandrel (B).


    2. Place a wrench on the winding mandrel of the boot band tool, and tighten the band until the marked spot (C) on the band meets the edge of the clip.
    3. Lift up the boot band tool to bend the free end of the band 90° to the clip. Center-punch the clip, then fold over the remaining tail onto the clip.


    16-13

    1. Unwind the boot band tool, and cut off the excess free end of the band to leave a 5 - 10 mm
      (0.2 - 0.5 in.) tail protruding from the clip.


    2. Bend the band end (A) by tapping it down with a hammer.
    3. NOTE:
    4. Make sure the band and clip do not interfere with anything, and the band does not move.
    5. Remove any grease remaining on the surrounding surfaces.


    6. Install the boot band on the other end of the boot, and repeat steps 12 through 19.
    7. Install the new set ring.


    Front Driveshafts Reassembly (cont'd)16-14

    Outboard Joint Side:

    1. Wrap the splines with vinyl tape (A) to prevent damage to the outboard boot.


    2. Install the new boot bands (B).
    3. Install the outboard boot. Be careful not to damage the outboard boot.
    4. Remove the vinyl tape.
    5. Install the new stop ring into the driveshaft groove (A).


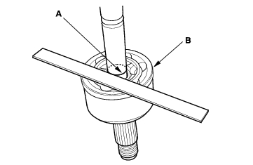
    6. Insert the driveshaft (A) into the outboard joint (B) until the stop ring (C) is close to the joint.


    7. To completely seat the outboard joint, pick up the driveshaft and joint, and drop them from about 10 cm (4 in.) onto a hard surface. Do not use a hammer as excessive force may damage the driveshaft.


    16-15

    1. Check the alignment of the paint mark (A) with the outboard joint end (B).


    2. Pack the outboard joint (A) with the joint grease included in the new joint boot set.


    Grease quantity

    Outboard joint: 140 - 150 g (4.9 - 5.3 oz)


    1. Adjust the length of the driveshafts to the figure below, then adjust the boots to halfway between full compression and full extension. Make sure the ends of the boots seat in the groove of the driveshaft and joint.


    Front Driveshafts Reassembly (cont'd)16-16

    1. Fit the boot (A) ends onto the driveshaft (B) and outboard joint (C).


    2. Close the ear portion (A) of the band with a commercially available boot band pincers (B).


    3. Check the clearance between the closed ear portion of the band. If the clearance is not within the standard, close the ear portion of the band further.


    4. Repeat steps 13 and 14 for the band on the other end of the boot.


    Honda 2001 Driveline/Axle16-1
    Front Driveshafts Reassembly16-9
    Previous Page Next Page