Honda 2001 A/T
Torque Converter Housing14-214
Previous Page Next Page



Torque Converter Housing14-214

Mainshaft Bearing and Oil Seal Replacement

Special Tools Required
  • Adjustable bearing remover set 07JAC-PH80000
  • Handle driver 07749-0010000
  • Driver attachment, 62 x 68 mm 07746-0010500
  • Driver attachment, 72 x 75 mm 07746-0010600
    1. Remove the mainshaft bearing and oil seal with the special tool.


    2. Install the new mainshaft bearing until it bottoms in the housing with the special tools.


    3. Install the new oil seal flush with the housing with the special tools.


    Countershaft Bearing Replacement14-215

    Special Tools Required
  • Adjustable bearing remover set 07JAC-PH80000
  • Handle driver 07749-0010000
  • Driver attachment, 62 x 68 mm 07746-0010500
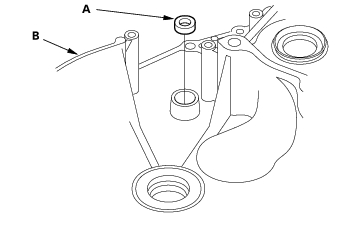
    1. Remove the countershaft bearing with the special tool.


    2. Install the ATF guide plate (A).


    3. Install the new countershaft bearing (B) in the housing with the special tools.

    Secondary Shaft Bearing Replacement14-216

    Special Tools Required
  • Handle driver 07749-0010000
  • Driver attachment, 62 x 68 mm 07746-0010500
    1. Remove the bolt, then remove the lock washer (A) and bearing set plate (B).


    2. Remove the secondary shaft bearing (A) by heating the housing to about 212 °F (100 °C) with a heat gun (B). Do not heat the housing in excess of 212 °F (100 °C).
    3. NOTE: Let the housing cool to normal temperature before installing the bearing.


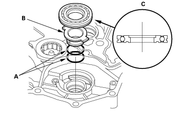
    4. Install the new O-rings (A) on the ATF guide collar (B), then install the ATF guide collar in the housing.


    5. Install the new secondary shaft bearing (C) in the direction shown.
    6. Drive the secondary shaft bearing with the special tools, and install it securely in the housing.


    7. Check that the bearing groove aligns with the housing surface, then install the bearing set plate with aligning the bearing groove.
    8. Install the new lock washer and bolt, then bend the lock tab of the lock washer against the bolt head.

    Control Shaft Oil Seal Replacement14-217

    Special Tools Required
  • Handle driver 07749-0010000
  • Driver attachment, 22 x 24 mm 07746-0010800
    1. Remove the oil seal (A) from the torque converter housing (B).


    2. Install the new oil seal flush to the torque converter housing with the special tools.




    Honda 2001 A/T
    Torque Converter Housing14-214
    Previous Page Next Page