Previous Next

Ignition Coil

TESTING

2.3L Engine

Because the ignition control module is integrated with the ignition coil, it is difficult to simply test the coil assembly itself. Refer to the ignition coil spark test given earlier in this section.

1998 2.0L and 2.5L (except Millenia) Engines
PRIMARY COIL WINDING RESISTANCE
  1. Detach the coil pack wire harness connector.
  2. On 2.0L engines, measure the resistance between the terminals as follows:
    1. Connect an ohmmeter to terminals A and B and record the reading.
    2. Connect an ohmmeter to terminals C and B and record the reading.

      Fig. 1: View of the 2.0L engine coil pack terminal identification

      Fig. 2: View of the 2.5L engine coil pack terminal identification

  3. On 2.5L engines, measure the resistance between the terminals as follows:
    1. Connect an ohmmeter to terminals A and D and record the reading.
    2. Connect an ohmmeter to terminals B and D and record the reading.
    3. Connect an ohmmeter to terminals C and D and record the reading.
  4. The resistance specification is 0.45–0.55 ohms at 68°F (20°C).
  5. If any of the readings are not within specification, replace the coil pack.
SECONDARY COIL WIRE RESISTANCE
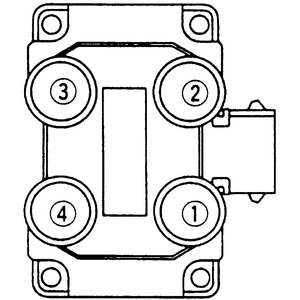
  1. Label and detach the spark plug wires from the coil pack.
  2. On 2.0L engines, measure the resistance between the spark plug terminals as follows:
    1. Connect an ohmmeter to terminals 1 and 4 and record the reading.
    2. Connect an ohmmeter to terminals 2 and 3 and record the reading.

      Fig. 3: View of the 2.0L engine coil pack spark plug terminal identification

      Fig. 4: View of the 2.5L engine coil pack spark plug terminal identification

  3. On 2.5L engines, measure the resistance between the spark plug terminals as follows:
    1. Connect an ohmmeter to terminals 1 and 4 and record the reading.
    2. Connect an ohmmeter to terminals 2 and 5 and record the reading.
    3. Connect an ohmmeter to terminals 3 and 6 and record the reading.
  4. The resistance specification is 11.5–15.5k ohms at 68°F (20°C).
  5. If any of the readings are not within specification, replace the coil pack.

Previous Next