Previous Next

TESTING

  1. Visually inspect the vapor and vacuum lines and connections for looseness, pinching, leakage, or other damage. If fuel line, vacuum line, or orifice blockage is suspected as the obvious cause of a malfunction, correct the cause before proceeding further.
  2. Check the wiring and connectors to the solenoid, vane air flow meter, speed sensor and ECM for looseness, corrosion, damage or other problems. This must be done with the engine fully warmed so as to activate the purging controls.
  3. If all checks are okay, proceed with the testing.
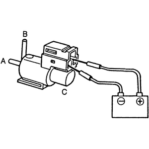
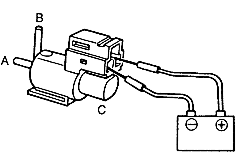
  4. Check the canister purge solenoid as follows:
    1. Detach the vacuum hoses and the electrical connector from the solenoid valve.
    2. Attach a clean test hose to port A.
    3. Blow air through the solenoid from port A and confirm that no air exits from port B.
    4. Apply 12 volts to one terminal of the solenoid connector and ground the other terminal.
    5. Blow air through the solenoid from port A and confirm that air exits from port B.
    6. If the solenoid does not function as specified, it must be replaced.
  5. Check the carbon canister for liquid fuel as follows:
    1. Run the engine long enough to warm it up and purge any fuel from the carbon canister.
    2. Stop the engine and remove the canister.

      Fig. 1: By applying voltage to the solenoid valve, air flow between the ports should change

    3. Inspect the canister for the presence of liquid fuel, indicated by odor or by excessive weight.
    4. Blow into the air vent in the bottom of the canister and verify that air exits readily from the fuel vapor inlet.
    5. If the carbon canister is free of liquid fuel and air passes through it easily, proceed to the next Step. If there is fuel in the canister or air does not pass through it, replace the canister.
  6. Check for purge line blockage as follows:
    1. Remove the purge lines (including any orifice) leading from the carbon canister to the engine intake.
    2. Check each line for blockage by blowing through it. If air flows slowly, the line may contain an orifice that may be partially plugged.
    3. If the line allows air to flow freely, proceed to Step 8. If air flows very slow through the line, proceed to Step 7. If air does not flow, remove the orifice, clean it thoroughly and install it in a new line, or replace the line and orifice as an assembly; proceed to Step 8.
  7. Check for purge line orifice blockage as follows:
    1. Remove any orifice suspected of being restricted and clean it thoroughly.
    2. Reinstall it in the purge line and recheck it for resistance to air flow by blowing through the line.
    3. If the line and orifice flow air more freely than when checked in Step 6, remove the orifice, replace the purge line, and reinstall the orifice, or replace the line and orifice as an assembly. The original line may contain accumulated particles.
    4. If the line and orifice do not flow air more freely, proceed to Step 8.
  8. Check the fuel vapor valve as follows:
    1. Visually inspect the fuel vapor valve and its connections with the fuel tank for pinched hoses, blockage, looseness, or other mechanical damage.
    2. If the fuel vapor valve and its connections are not damaged, remove the valve from the fuel tank.
    3. Holding the valve in an upright position, with the tank end pointing down, blow air into the valve exhaust hose connection. Air should flow freely.
    4. Holding the valve in the reverse position, with the tank end pointing upward, blow air into the vapor exhaust hose connection, air should not flow.
    5. If the valve does not operate properly, replace it.
  9. Check the 2-way check valve function as follows:
    1. Visually inspect the check valve and its connections for hose pinching, blockage, looseness, or for evidence of other damage or leakage.
    2. Remove the 2-way check valve.
    3. Blow air through the valve from A to B and then from B to A. Verify that air passes easily in either direction.
    4. If there is no evidence of leakage, and air passes easily in either direction, the check valve is okay; system testing is completed. If the valve leaks or air will not pass easily, replace the 2-way check valve.

Previous Next