1. Remove the battery and battery tray.
(See BATTERY REMOVAL/INSTALLATION [ZJ, Z6].)
(See BATTERY REMOVAL/INSTALLATION [LF].)
2. Separate the steering shaft.
3. Separate the clutch pipe and reserve hose.
(See CLUTCH MASTER CYLINDER REMOVAL/INSTALLATION.)
4. Remove in the order indicated in the table.
5. Install in the reverse order of removal.
6. After installation, inspect the clutch pedal. (See CLUTCH PEDAL INSPECTION.)
L.H.D.

.
|
1
|
Clutch pedal position switch connector
|
|
2
|
Clutch pedal position switch
|
|
3
|
Nuts
|
|
4
|
Clutch pedal component
|
|
5
|
Clutch master cylinder
|
|
6
|
Pedal pad
|
R.H.D.

.
|
1
|
Clutch pedal position switch connector
|
|
2
|
Clutch pedal position switch
|
|
3
|
Nuts
|
|
4
|
Clutch pedal component
|
|
5
|
Clutch master cylinder
|
|
6
|
Pedal pad
|
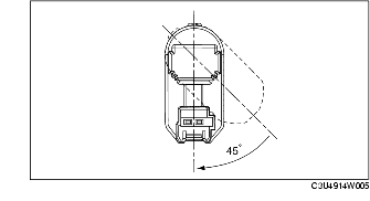
1. Insert the new clutch pedal position switch into hole of the pedal bracket until the switch stops.
2. Rotate the clutch pedal position switch 45° clockwise.
3. Verify that the clutch pedal position switch is locked securely.