Previous Next

COIL TESTING

1990 2.0L Engines
  1. Disconnect the negative battery cable and ignition coil harness connector.
  2. Measure the primary coil resistance as follows:
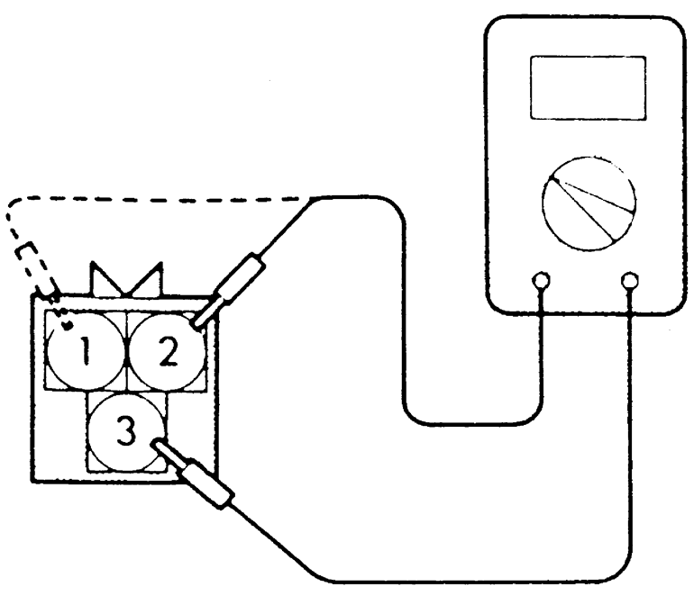
    1. Measure the resistance between terminals 4 and 2 (coils at the No. 1 and No. 4 cylinder sides) of the ignition coil, and between terminals 4 and 1 (coils at the No. 2 and No. 3 cylinder sides).
    2. Compare reading to the desired primary coil resistance of 0.77–0.95 ohms.

      Fig. 1: Measuring the primary ignition coil resistance — 2.0L engines, except 1995–98 non-turbo engines

  3. Measure the coil secondary resistance as follows:
    1. Disconnect the connector of the ignition coil.
    2. Measure the resistance between the high-voltage terminals for the No. 1 and No. 4 cylinders, and between the high-voltage terminals for the No. 2 and No. 3 cylinders.
    3. Compare the measured resistance to the desired secondary coil resistance of 10.3–13.9 kilo-ohms.
  4. If the readings are not within the specified value, replace the ignition coil.
1991–98 2.0L Engines
EXCEPT 1995–98 2.0L NON-TURBO ENGINES
  1. Disconnect the negative battery cable and ignition coil harness connector.
  2. Measure the primary coil resistance as follows:
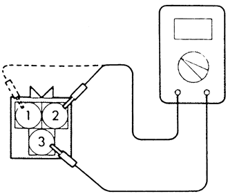
    1. Measure the resistance between terminals 3 and 2 (coils at the No. 1 and No. 4 cylinder sides) of the ignition coil, and between terminals 3 and 1 (coils at the No. 2 and No. 3 cylinder sides).
    2. Compare reading to the desired primary coil resistance of 0.70–0.86 ohms.
  3. Measure the coil secondary resistance as follows:
    1. Detach the connector from the ignition coil.
    2. Measure the resistance between the high-voltage terminals for the No. 1 and No. 4 cylinders, and between the high-voltage terminals for the No. 2 and No. 3 cylinders.
    3. The desired secondary coil resistance is 11.3–15.3 kilo-ohms.

      Fig. 2: Measuring ignition coil secondary resistance — 1991–98 2.0L engines, except 1995–98 2.0L non-turbo

  4. If the readings are not within the specified value, replace the ignition coil.
1995–98 2.0L NON-TURBO ENGINES
  1. Disconnect the negative battery cable.
  2. To check the primary coil resistance, perform the following:
    1. Detach the electrical connector from the coil pack.
    2. Measure the primary resistance of each coil. At the coil, connect an ohmmeter between the B+ pin and the pin corresponding to the questionable cylinder.
    3. If the resistance is not between 0.51–0.61 ohms, replace the ignition coil.

      Fig. 3: Terminal identification for measuring primary coil resistance — 1995–98 2.0L non-turbo engine

  3. To check the secondary coil resistance, perform the following:
    1. Tag and disconnect the spark plug wires from the ignition coil.
    2. Measure the secondary resistance of the coil between the towers of each individual coil.
    3. If the resistance is not between 11.5–13.5 kilo-ohms, replace the ignition coil.

      Fig. 4: Measuring the secondary ignition coil resistance between the No. 1 and No. 4 cylinders

      Fig. 5: Measuring the secondary ignition coil resistance between the No. 2 and No. 3 cylinders

2.4L Engines
  1. Disconnect the negative battery cable.
  2. To check the primary coil resistance, perform the following:
    1. Detach the electrical connector from the coil pack.
    2. Measure the primary resistance between the ignition coil connector terminals.
    3. If the resistance is not between 0.74–0.90 ohms, replace the ignition coil.

      Fig. 6: Measure the primary coil resistance between the connector terminals — 2.4L engine

  3. To check the secondary coil resistance, perform the following:
    1. Tag and disconnect the spark plug wires from the ignition coil.
    2. Measure the secondary resistance of the coil between the towers of each individual coil.
    3. If the resistance is not between 20.1–27.3 kilo-ohms, replace the ignition coil.

      Fig. 7: Measure the secondary resistance between the towers of the coil — 2.4L engine

Previous Next