NOTE: When testing the power transistor(s), an analog-type
circuit tester should be used.
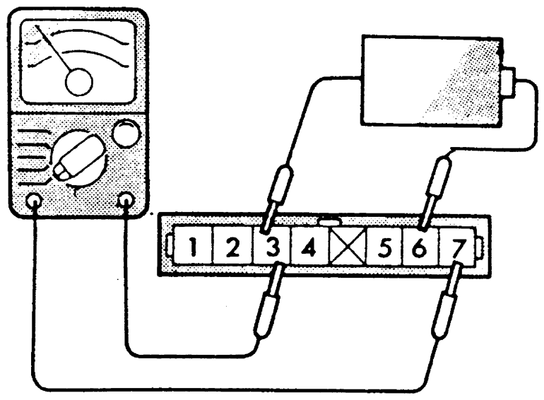
- To test the No. 1 and 4 cylinders:
- Select the ohm range on the analog tester and connect the tester between
terminals 1 and 3.
| Fig. 1: Terminal identification of the power
transistor
|
- Connect the positive (+) lead of a 1.5 volt dry cell battery between
terminal 2 and the negative lead to terminal 3.
- Continuity should be indicated when the dry cell is connected. No continuity
should be indicated when the dry cell is disconnected.
- To test the No. 2 and 3 cylinders:
- Select the ohm range on the analog tester and connect the tester between
terminals 6 and 3.
- Connect a 1.5 volt dry cell battery between terminals 3 and 5. The positive
(+) lead connects to terminal 5 and the negative (-) to terminal 3.
- Continuity should be indicated when the dry cell is connected. No continuity
should be indicated when the dry cell is disconnected.
- If the results of the tests are not as indicated above, replace the power
transistor.
- To test the No. 1 and 4 cylinders:
- Connect the negative terminal of a 1.5 volt dry cell battery to terminal
3 of the power transistor; then check whether there is continuity between
terminals 7 and 3 when terminal 6 and the positive (+) terminal are connected
and disconnected.
NOTE: Connect the negative probe of the tester to terminal
7 of the power transistor.
| Fig. 2: Testing No. 1-No. 4 coil side of the
power transistor
|
- With terminal 6 and the positive (+) lead connected, there should be
continuity between terminal 7 and terminal 3. With terminal 6 and the
positive (+) lead disconnected, there should be no continuity between
terminal 7 and terminal 3.
- To test the No. 2 and 3 cylinders:
- Connect the negative terminal of a 1.5 volts dry cell to terminal 3
of the power transistor; then check whether there is continuity between
terminals 1 and 3 when terminal 2 and the positive (+) terminal are connected
and disconnected.
NOTE: Connect the negative probe of the tester to terminal
1 of the power transistor.
| Fig. 3: Testing No. 2-No. 3 coil side of the
power transistor
|
- With terminal 2 and the positive (+) lead connected, there should be
continuity between terminal 1 and terminal 3. With terminal 2 and the
positive (+) lead disconnected, there should be no continuity between
terminal 1 and terminal 3.
- If the results of the tests are not as indicated above, replace the power
transistor.
- To test the No. 1 and 4 cylinders:
- Connect the negative terminal of a 1.5 volt dry cell battery to terminal
3 of the power transistor; then check whether there is continuity between
terminals 8 and 3 when terminal 7 and the positive (+) terminal are connected
and disconnected.
NOTE: Connect the negative probe of the tester to terminal
8 of the power transistor.
- With terminal 7 and the positive (+) lead connected, there should be
continuity between terminal 8 and terminal 3. With terminal 7 and the
positive (+) lead disconnected, there should be no continuity between
terminal 8 and terminal 3.
- To test the No. 2 and 3 cylinders:
- Connect the negative terminal of a 1.5 volt dry cell battery to terminal
3 of the power transistor; then check whether there is continuity between
terminals 1 and 3 when terminal 2 and the positive (+) terminal are connected
and disconnected.
NOTE: Connect the negative probe of the tester to terminal
1 of the power transistor.
- With terminal 2 and the positive (+) lead connected, there should be
continuity between terminal 1 and terminal 3. With terminal 2 and the
positive (+) lead disconnected, there should be no continuity between
terminal 1 and terminal 3.
| Fig. 4: Testing the power transistor for cylinders
No. 1 and 4
|
| Fig. 5: Testing the power transistor for cylinders
No. 2 and 3
|
- If the results of the tests are not as indicated above, replace the power
transistor.
