Previous Next

REMOVAL & INSTALLATION

1995–98 Vehicles
2.0L NON-TURBO ENGINES
  1. Disconnect the negative battery cable.
  2. Detach the air intake hose.
  3. Detach the camshaft position sensor connector.
  4. Unfasten the retaining bolts, then remove the camshaft position sensor.
  5. If necessary, remove the retaining bolts, then remove the target magnet.

    To install:

  6. If removed, install the target magnet by aligning the off-set tabs of the magnet with the off-set holes of the camshaft. Tighten the retaining bolts to 2 ft. lbs. (3 Nm).
  7. Position the sensor, and secure with the retaining bolts. Tighten to 7 ft. lbs. (9 Nm).
  8. Attach the sensor electrical connector.
  9. Install the air intake hose, then connect the negative battery cable.
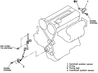
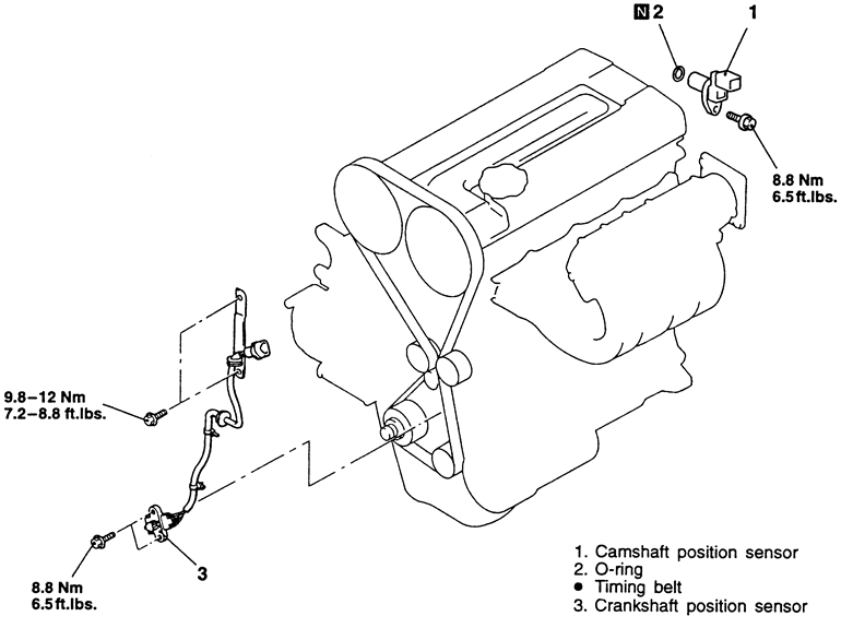
2.0L TURBO AND 2.4L ENGINES
  1. Disconnect the negative battery cable.
  2. Detach the sensor connector.
  3. Unfasten the retaining bolt, then remove the sensor and the O-ring.

    Fig. 1: Exploded view of the camshaft and crankshaft position sensors — 2.0L turbo engines

    Fig. 2: Camshaft and crankshaft position sensor locations — 2.4L engines

  4. Installation is the reverse of the removal procedure.

Previous Next