Previous Next

Signal and Marker Lights

REMOVAL & INSTALLATION

Front Turn Signal and Parking Lights
1990–94 VEHICLES
  1. Remove the front garnish.
  2. If equipped, with pop-up headlights, raise the headlights using the switch.
  3. Disconnect the negative battery cable.
  4. Disconnect the front turn signal light. Remove the retainers and the turn signal light.

    Fig. 1: Front turn signal and combination light removal

  5. Remove the retainers and the front combination light.
  6. Installation is the reverse of the removal procedure.
1995–98 VEHICLES
  1. Disconnect the negative battery cable.
  2. Remove the turn signal bulb and socket assembly from the housing.

    Fig. 2: Remove the turn signal light bulb and socket from the housing assembly . . .

  3. Pull the parking light bulb from the socket.

    Fig. 3: . . . then twist and pull the parking light bulb out of the socket assembly

  4. Installation is the reverse of the removal procedure.
Front Side Marker Light
  1. Disconnect the negative battery cable.
  2. Either remove the mounting screws or use a small prytool to remove the front side marker lamp.

    Fig. 4: On some vehicles you may have to remove the side marker lens by carefully prying it off

  3. Pull the side marker lens and bulb from the vehicle.

    Fig. 5: Pull the side marker lens and bulb assembly from the vehicle

  4. Twist the bulb and socket to remove it from the housing.

    Fig. 6: Twist the bulb and socket 1/4 turn, then pull the socket from the housing

  5. Pull the bulb from the socket and replace if necessary.

    Fig. 7: Pull the side marker bulb from the socket and replace, if necessary

    To install:

  6. Insert the boss of the front side marker light into the clip areas of the front fender. Insert the ribs of the front side marker light into the mounting holes on the headlight side. Then, if equipped, secure the front side marker light with the mounting screws.
  7. Connect the negative battery cable and check lamp operation.
Rear Turn Signal, Brake and Parking Light
1990–94 VEHICLES
  1. Disconnect the negative battery cable.

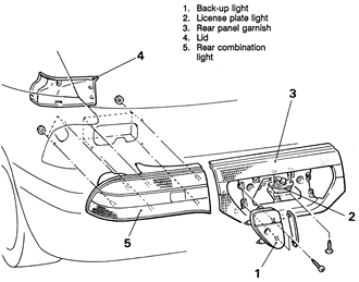
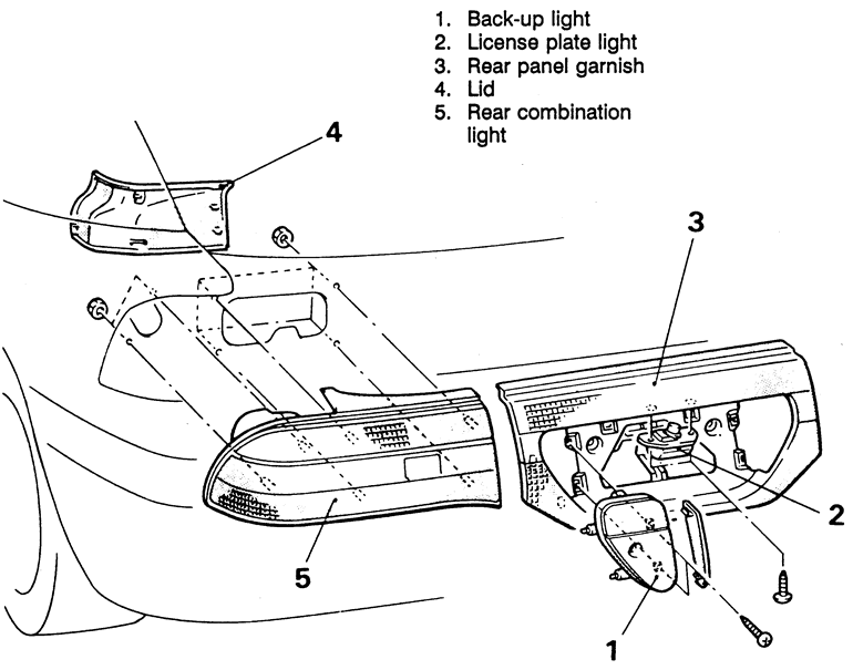
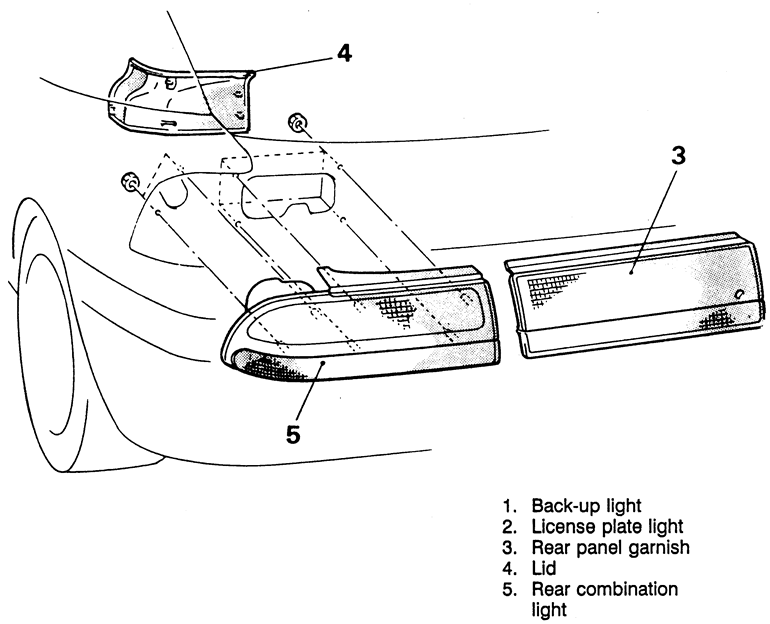
    Fig. 8: Exploded view of the rear combination light removal — 1990–94 Talon

    Fig. 9: Rear combination light removal — 1990–94 Eclipse and Laser shown

  2. Remove the back-up lights and license plate light from the rear panel garnish, if equipped.
  3. Remove the rear deck garnish panel.
  4. Open the trunk, then remove the panel to access the rear light assembly retainers.
  5. Unfasten the retainers, then pull the rear combination light assembly away from the rear of the vehicle.
  6. Remove the bulb and socket assembly from the light assembly by turning to unlock, then pulling it from the housing.
  7. Replace the bulb as necessary.

    To install:

  8. Installation is the reverse of the removal procedure.
  9. When installing the rear lighting assembly, make sure to follow the correct tightening sequence.

    Fig. 10: You must tighten the rear combination light in the proper sequence to ensure proper sealing

  10. Connect the negative battery cable, then check for proper light operation.
1995–98 VEHICLES
  1. Disconnect the negative battery cable.
  2. Open the rear compartment hatch, then remove the retainers, then remove the inner trim panel in order to get to the rear light retainers.

    Fig. 11: From inside the trunk, unlatch the retaining clips . . .

    Fig. 12: . . . then remove the trim panel for access to the rear light assemblies

  3. Turn the necessary bulb and socket assembly to unlock it from the housing, then pull it from the housing.

    Fig. 13: Pull the garnish light bulb and socket from the housing

    Fig. 14: . . . then twist and pull the bulb from the socket and replace if necessary

    Fig. 15: Remove the brake/turn signal socket from the housing assembly . . .

    Fig. 16: . . . then twist and pull the bulb straight out of the socket

    Fig. 17: If necessary, twist and remove the other (side) brake/turn signal socket from the housing . . .

    Fig. 18: . . . then remove the bulb from the socket

  4. Pull the bulb from the socket and replace with a new one of the same type.
  5. Installation is the reverse of the removal procedure.

    Fig. 19: If necessary to replace the reverse light bulb, unfasten the lens retaining screws

    Fig. 20: Pull the lens and socket assembly away from the rear bumper fascia

    Fig. 21: Twist the bulb and socket to unlock it, then pull it from the reverse lamp housing

    Fig. 22: Pull the bulb from the socket and replace, if necessary

High-Mount Brake Light
WITH REAR SPOILER
  1. Disconnect the negative battery cable.
  2. Remove the retainers and the high-mount brake light unit assembly.
  3. Disconnect the socket harness and remove from the vehicle.

    Fig. 23: High-mount brake light mounting — early model vehicles with rear spoiler shown, late models similar

  4. Installation is the reverse of the removal procedure.
WITHOUT REAR SPOILER
  1. Disconnect the negative battery cable.
  2. Remove the square retainer clips or bolts from the high-mount brake light cover and remove the cover.

    Fig. 24: High-mount stop light removal — early model vehicles without rear spoiler, late models similar

  3. Remove the fasteners and the lens and bracket. Remove the gasket.
  4. Installation is the reverse of the removal procedure.
License Plate Light
  1. Disconnect the negative battery cable.
  2. Unfasten the license plate lens retaining screws, then lower the lamp from its installed position.

    Fig. 25: Remove the license plate lamp retaining screws . . .

    Fig. 26: . . . then lower the license plate lamp from its mounting position

  3. Turn the bulb and socket to unlock it, then pull the assembly from the housing. Remove the bulb and replace if burned out.

    Fig. 27: Twist, then pull the bulb and socket from the housing . . .

    Fig. 28: . . . then pull the license plate bulb from the socket and replace if necessary

  4. Installation is the reverse of the removal procedure.
Trunk Interior Lights

To replace the interior cargo area light bulbs, disconnect the negative battery cable, then refer to the accompanying figures.

Fig. 29: Use a prytool with a rag behind it (to avoid scratching the trim) to remove the cargo area lens

Fig. 30: Remove the cargo area light lens to access the bulb . . .

Fig. 31: . . . then pull the trunk light bulb out of the lamp housing

Rear View Mirror Lights

To remove the bulb(s) from the rear view mirror, disconnect the negative battery cable, then refer to the accompanying figures.

Fig. 32: Remove the lens from the bottom of the rear view mirror

Fig. 33: After the lens is removed, you can access the map light bulb(s) at the bottom of the rear view mirror

Previous Next