Previous Next

Front Wheel Hub, Knuckle and Bearing

REMOVAL & INSTALLATION

1990–94 Vehicles

Fig. 1: Exploded view of the front hub and knuckle assembly

  1. Disconnect the negative battery cable.
  2. Remove the cotter pin from the driveshaft nut. With the brakes applied, loosen the halfshaft nut.
  3. Raise the vehicle and support safely. Remove the halfshaft nut. If equipped with ABS, remove the front wheel speed sensor.
  4. Remove the caliper assembly and brake pads. Suspend the caliper with a wire.
  5. Remove the ball joint and tie rod end from the steering knuckle.
  6. Remove the halfshaft by setting up a puller on the outside wheel hub and pushing the halfshaft from the front hub. After pressing the outer shaft, insert a prybar between the transaxle case and the halfshaft and pry the shaft from the transaxle.

    Fig. 2: Use the proper puller to remove the front driveshaft from the hub

  7. Unbolt the lower end of the strut and remove the hub and steering knuckle assembly from the vehicle.
  8. To disassemble, proceed as follows:
    1. Install the hub/knuckle assembly in a vise. Using a puller, remove the hub from the knuckle.

      NOTE: Do not use a hammer to accomplish this or the bearing will be damaged.

    2. Carefully remove the oil seal from the axle side of the knuckle using a small prying tool.

      Fig. 3: Use a puller to remove the wheel bearing inner race from the front hub

    3. Remove the wheel bearing inner race from the front hub using a puller.

      NOTE: Be careful that the front hub does not fall when the inner race is removed.

    4. Remove the snapring from the axle side of the knuckle. Remove the bearing from the knuckle using a puller.
    5. Once the bearing is removed, the bearing outer race can be removed by tapping out with a brass drift pin and a hammer.

      To install:

    6. To assembly, proceed as follows:
    7. Fill the wheel bearing with multipurpose grease. Apply a thin coating of multipurpose grease to the knuckle and bearing contact surfaces.
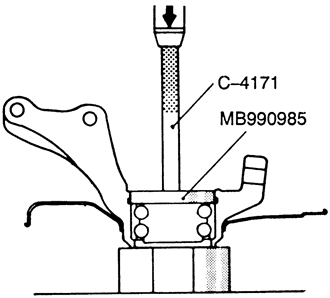
    8. Press the wheel bearing into the knuckle using the appropriate pressing tool. Once the bearing is installed, install the inner race using the proper driving tool.

      Fig. 4: With the inner wheel bearing race removed, press in the bearing using tools C–4171 and MB990985

    9. Drive the oil seal into the knuckle by using the proper size driver. Drive seal into knuckle until it is flush with the knuckle end surface.
    10. Using pressing tool MB990998-01 or equivalent, mount the front hub assembly into the knuckle. Tighten the nut of the pressing tool to 144–188 ft. lbs. (200–260 Nm). Rotate the hub to seat the bearing.

      Fig. 5: Mount the front hub assembly to the knuckle and tighten nut to specified torque

    11. Mount the knuckle assembly in a vise. Check the hub assembly turning torque and end-play as follows:
    12. Using a torque wrench and socket MB990998-01 or equivalent, turn the hub in the knuckle assembly. Note the reading on the torque wrench and compare to the desired reading of 16 inch lbs. (1.8 Nm) or less.

      Fig. 6: Measuring wheel bearing starting torque

    13. Check for roughness when turning the bearing.
    14. Mount a dial indicator on the hub so the pointer contacts the machined surface on the hub.
    15. Rotate the hub and read the movement of the needle.
    16. Compare the reading to the limit of 0.008 in. (0.2mm).

      Fig. 7: Measuring wheel bearing end-play

    17. If the starting torque or the hub end-play are not within specifications while the nut is tightened to 144–188 ft. lbs. (200–260 Nm), the bearing, hub or knuckle have probably not been installed correctly. Repeat the disassembly and assembly procedure and recheck starting torque and end-play.
  9. Install the hub and knuckle assembly onto the vehicle. Install the lower ball joint stud into the steering knuckle and install new nut. Tighten to 52 ft. lbs. (72 Nm).
  10. Install the halfshaft into the transaxle extension housing and guide the outer end through the hub/knuckle assembly.
  11. Install the 2 front strut lower mounting bolts and tighten to 80–101 ft. lbs. (110–140 Nm).
  12. Install the connection for the tie rod end and tighten nut to 25 ft. lbs. (34 Nm). Install new cotter pin and bend to lock nut in position.
  13. Install the brake disc and caliper assembly.
  14. Install the front speed sensor, if removed.

    NOTE: When installing front speed sensor, make sure harness is routed in the original position and that it is not twisted.

  15. Install the washer and new locknut to the end of the halfshaft. Tighten the locknut snugly.
  16. Install the tire and wheel assembly onto the vehicle. Lower the vehicle to the ground.
  17. With the weight of the vehicle on the ground and the brakes applied, tighten the locknut to 144–188 ft. lbs. (260 Nm).
  18. Install the cotter pin in the first matching holes and bend it securely.
1995–98 Vehicles

NOTE: The front hub assembly is a sealed unit and should not be disassembled.

  1. Raise and safely support the vehicle.
  2. Remove the wheel and tire assembly.
  3. Remove and discard the driveshaft nut cotter pin.
  4. Remove the driveshaft nut, holding the rotor in place with a suitable tool.
  5. If equipped with ABS, remove the front wheel speed sensor.
  6. Unbolt the caliper assembly and suspend out of the way with a piece of wire. Do not disconnect the fluid line.
  7. Use a suitable puller to separate the upper control arm ball joint from the steering knuckle.
  8. Unfasten the retaining bolts, then remove the front hub assembly. Shift the knuckle to the outside in order to keep the clearance between the front hub mounting bolts and driveshaft. Be careful not to damage the ball joint boot. If equipped with ABS, be careful not to damage the rotor.

    Fig. 8: Exploded view of the front hub bearing assembly and related components — 1995–98 vehicles

    NOTE: If steering knuckle removal is necessary proceed with the following steps.

  9. Unfasten the retaining bolts, then remove the dust shield.
  10. Remove and discard the cotter pin, then separate the tie rod end from the steering knuckle using a puller.
  11. Use a suitable puller to separate the compression and lateral lower control arm ball joints from the steering knuckle.
  12. Unfasten the connecting nut and bolt of the damper fork and lateral lower control arm.
  13. Remove the steering knuckle from the vehicle.

    Fig. 9: Exploded view of the steering knuckle and related components — 1995–98 vehicles

    To install:

  14. Position the steering knuckle in the vehicle. Install the connecting bolt and nut and secure hand-tight.
  15. Attach the lateral and compression lower control arm ball joints into the steering knuckle.
  16. Fasten the tie rod end ball joint to the steering knuckle, then install the retaining nut and tighten to 17–25 ft. lbs. (24–33 Nm). Install a new cotter pin and bend over securely.
  17. Install the dust shield and secure with the retaining bolt. 6.5 ft. lbs. (8.5 Nm).
  18. Position the front hub assembly, then secure with the retaining bolts. Tighten to 65 ft. lbs. (88 Nm).
  19. Fasten the upper control arm ball joint to the steering knuckle.
  20. Install the brake disc (rotor) and caliper.
  21. If equipped, install the front wheel speed sensor.
  22. Install the driveshaft nut. Hold the rotor in position while tightening the driveshaft nut to 145–188 ft. lbs. (196–255 Nm). If the cotter pin holes does not match, tighten the nut up to 188 ft. lbs. (225 Nm) maximum. Install a new cotter pin in the first matching holes, then bend it over securely.
  23. Install the wheel and tire assembly, then carefully lower the vehicle.

Previous Next