Previous Next

Rocker Arms/Shafts

REMOVAL & INSTALLATION

3000GT and Diamante
3.0L SOHC ENGINE

On this engine, the hydraulic lash adjusters are built into the rocker arms.

  1. Before servicing the vehicle, refer to the precautions in the beginning of this section.
  2. Disconnect the negative battery cable.
  3. Remove the valve cover. Install lash adjuster retainer tools to prevent the auto-lash adjuster from falling out of the rocker arm.
  4. Loosen rocker arm and shaft assembly evenly in several steps. Remove the rocker arm and shaft assembly as a complete unit.
  5. Remove the rear camshaft bearing cap and slide the rocker arms, springs and washers from the shaft. If they are to be reused, note the location and positioning of all rocker shaft components. It is recommended that all lash adjusters and rockers be replaced as a complete set.

    To install:

  6. Immerse the lash adjusters in clean diesel fuel. Using a small wire, move the plunger of the lash adjuster up and down 4 or 5 times while pushing down lightly on the check ball in order to bleed out the air. Install the lash adjusters in the rocker arms.
  7. Using a light coat of engine oil, assemble the rocker arms to the shaft. Install the rear camshaft bearing cap.
  8. Lubricate the camshaft and rocker shaft with clean engine oil and position on the cylinder head.
  9. Apply a drop of sealant to the rear edges of the end caps.
  10. Install or connect the following:

3.0L DOHC ENGINE

Fig. 3: The rocker arms sit beneath the camshaft and are supported on one end by the valve stem and on the other end by the hydraulic lash adjuster — Diamante 3.0L DOHC engine

  1. Before servicing the vehicle, refer to the precautions in the beginning of this section.
  2. Relieve the fuel system pressure.
  3. Remove or disconnect the following:

    NOTE: It is recommended that all lash adjusters and rockers be replaced as a complete set.

    To install:

  4. Immerse the lash adjusters in clean diesel fuel. Using a small wire, move the plunger of the lash adjuster up and down 4 or 5 times while pushing down lightly on the check ball in order to bleed out the air. Lubricate and install the lash adjusters in the cylinder head.
  5. Lubricate the camshafts with clean engine oil and position the camshafts on the cylinder head.
  6. Install the bearing caps. Tighten the caps in sequence and in 2 or 3 steps. Caps 2, 3 and 4 have a front mark. Install with the mark aligned with the front mark on the cylinder head. Intake caps have I stamped on the cap and exhaust caps have E. Also, be sure the rocker arm is correctly mounted on the lash adjuster and the valve stem end. Torque the front and rear retaining cap bolts to 14 ft. lbs. (20 Nm) and tighten the center 3 retaining cap bolts to 96 inch lbs. (11 Nm).
  7. Apply a coating of engine oil to the oil seals and install.
  8. Install the timing belt, valve cover and all related parts. Refer to the timing belt unit repair section.
  9. Connect the negative battery cable and check for leaks.
3.5L ENGINE
  1. Before servicing the vehicle, refer to the precautions in the beginning of this section.
  2. Disconnect the negative battery cable.
  3. Remove the rocker arm cover.
  4. Install the lash adjuster clips on the rocker arms, then loosen the bearing cap bolts. Do not remove the bolts from the bearing caps.
  5. Remove the rocker arms, shafts and bearing caps as an assembly.

    To install:

  6. Install the bearing caps/rocker arm assemblies. Tighten the bolts to 23 ft. lbs. (31 Nm).
  7. Remove the lash adjuster clips.
  8. Install the rocker arm cover using a new gasket.
  9. Connect the negative battery cable.
Eclipse and Galant
2.4L ENGINE

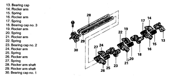
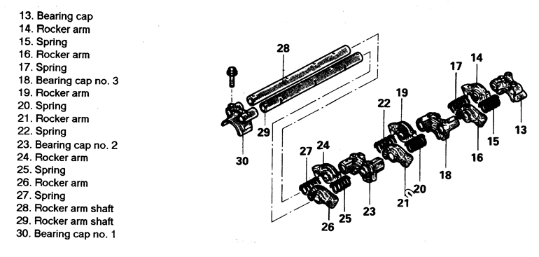
Fig. 4: Rocker arm shafts and components — Eclipse and Galant 2.4L (4G64) engines

  1. Before servicing the vehicle, refer to the precautions in the beginning of this section.
  2. Remove or disconnect the following:
  3. Install lash adjuster retainer tools to the rocker arm.
  4. Remove the rocker shaft hold-down bolts gradually and evenly and remove the rocker shaft/arm assemblies.
  5. Disassemble the rockers and the rocker shaft springs from the rocker shafts. If they are to be reused, note the location and positioning of all rocker shaft components. It is recommended that all lash adjusters and rockers be replaced as a complete set.

    To install:

    Fig. 5: Installing the rocker shaft springs — Eclipse and Galant 2.4L (4G64) engines

  6. Immerse the lash adjusters in clean diesel fuel, and using a small wire, move the plunger up and down 4 or 5 times. While pushing down lightly on the check ball in order to bleed the air from the adjuster.
  7. Install the lash adjusters to the rocker arms and attach the special holding tool.
  8. Lubricate the rocker shaft with clean engine oil and install the rocker arms.
  9. Temporarily tighten the rocker shaft assembly with the mounting bolts so that all rocker arms on the inlet valve side do not push on the valves.
  10. Fit the rocker shaft springs from above and position them so that they are at right angles to the plug side. Install the rocker springs before installing the exhaust side rocker shaft and rocker arm assembly.
  11. Install the exhaust side rocker shaft assembly in the engine. Tighten the rocker shaft mounting bolts gradually and evenly to 23 ft. lbs. (32 Nm).
  12. Remove the lash adjuster retaining tools.
  13. Install or connect the following:
2.0L (4G63) ENGINE
  1. Before servicing the vehicle, refer to the precautions in the beginning of this section.
  2. Relieve the fuel system pressure.
  3. Remove or disconnect the following:

    NOTE: Valvetrain components that are to be reused must be installed in the same locations from which they were removed.

  4. Remove the camshafts, rocker arms and lash adjusters.

    To install:

  5. Install the lash adjusters and rocker arms into the cylinder head. Lubricate lightly with clean oil prior to installation.
  6. Apply engine oil to the lobes and journals of each camshaft. Install the camshafts into the cylinder head.
  7. Install or connect the following:
2.0L (420A) ENGINE
  1. Before servicing the vehicle, refer to the precautions in the beginning of this section.
  2. Remove or disconnect the following:

    NOTE: Valvetrain components that are to be reused must be installed in the same locations from which they were removed.

  3. Remove the camshafts, rocker arms and lash adjusters.

    To install:

  4. Install the lash adjusters and rocker arms into the cylinder head. Lubricate lightly with clean oil prior to installation.
  5. Apply engine oil to the lobes and journals of each camshaft. Install the camshafts into the cylinder head.
  6. Install and tighten the 4 center camshaft bearing caps in the proper sequence to specifications in 3 even steps. Torque the bolts to 108 inch lbs. (12 Nm).
  7. Apply Loctite 51817® , or equivalent, to the front and rear bearing caps. Install the bearing caps and tighten the bolts to 20 ft. lbs. 28 Nm.
  8. Install or connect the following:

Mirage

Fig. 7: Camshaft, rocker arm and shaft assemblies — Mirage 1.8L (4G93) engine

  1. Before servicing the vehicle, refer to the precautions in the beginning of this section.
  2. Remove or disconnect the following:
  3. Loosen both rocker arm shaft assemblies gradually and evenly and remove the rocket shafts from the vehicle.
  4. If disassembly is required, keep all parts in the exact order of removal.

    To install:

  5. Lubricate the rocker shaft with clean engine oil and install the rockers and springs.
  6. Install the rocker arm and shaft assemblies. Tighten the rocker arm shaft retainer bolts to 23 ft. lbs. (32 Nm).
  7. Check valve adjustment and install the valve cover. Tighten the valve cover bolts to 16 inch lbs. (1.8 Nm) for the 1.5L engine or to 29 inch lbs. (3.3 Nm) for the 1.8L engine.
  8. Install or connect the following:

Previous Next