Previous Next

Rocker Arms/Shafts

REMOVAL & INSTALLATION

2.4L Engines
  1. Before servicing the vehicle, refer to the precautions in the beginning of this section.
  2. Remove or disconnect the following:

    NOTE: Install the special clips MB 998443-01 to hold the auto-adjusters in place.

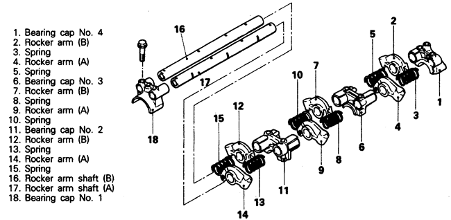
  3. Rocker arms and rocker arm shafts
  4. Rocker shaft springs

    Fig. 1: Insert the Lash Adjuster Holder tool MD998443 to prevent the lash adjuster from falling out — 2.4L engines

    NOTE: Take care during removal that no oil, grease or dirt comes into contact with the timing belt.

    To install:

  5. Disassemble the rocker assembly, checking each component for wear, scoring, or plugged oil passages. Check the roller for correct and smooth rotation. Inspect the inner diameter of each rocker for any scoring or enlargement. If wear is found inside the rocker, replace it and inspect the shaft for damage.
  6. Before reassembly, coat the contact faces liberally with clean motor oil. Observe the numbers on the bearing caps so that they are replaced in the correct location. Reassemble the rocker shafts into the front bearing cap so that the notches face outward. As you continue to assemble the springs, rockers and bearing caps, remember that the arrows on the bearing caps must point in the same direction as the arrow on the head. This is particularly important if the rockers have been removed from both heads.
  7. Install or connect the following:

3.0L Engines
  1. Before servicing the vehicle, refer to the precautions in the beginning of this section.
  2. Remove or disconnect the following:

    CAUTION
    Work must be started after 90 seconds from the time the ignition switch is turned to the

    LOCK position and the negative battery cable is disconnected.

  3. Valve cover
  4. Auto lash adjuster retainers SST MD998443 on the rocker arms
  5. Rocker arms, rocker shafts and bearing caps, as an assembly

    To install:

  6. Inspect the bearing journals on the camshaft and the cylinder head.
  7. Lubricate the camshaft journals and camshaft with clean engine oil.
  8. Install the rocker arms, rocker arm shaft and the rocker shaft spring as follows:
    1. Temporarily tighten the rocker shaft with the bolts so that the intake valve rocker arms do not push on the valves.
    2. Insert the rocker shaft spring from above and mount it at right angles to the plug guide.
    3. Before installing the exhaust rocker arms and the rocker arm shaft, mount the rocker shaft spring.
    4. Remove tool SST MD998443 used to hold the lash adjuster in position.
    5. Check to ensure that the flat side of the rocker shaft is perpendicular to the cylinder head, and facing the valves.
    6. Gradually tighten the bearing caps in 2 or 3 steps. In the final step, tighten to 23 ft. lbs. (31 Nm).
  9. Install or connect the following:
  10. Start the engine and check for leaks and proper operation.
3.5L Engine
  1. Before servicing the vehicle, refer to the precautions in the beginning of this section.
  2. Relieve the fuel system pressure.
  3. Remove or disconnect the following:

    NOTE: Install auto lash adjuster retainers SST MD998443 on the rocker arms

  4. Rocker arms and shafts
  5. Lash adjusters
  6. Check the camshaft journals for wear or damage. Check the cam lobes for damage. Also, check the cylinder head oil holes for clogging.

    To install:

    NOTE: Lubricate the valve train components with clean engine oil.

  7. Bleed and install the lash adjusters to the to the original bores in the cylinder head.
  8. Install or connect the following:
  9. Run vehicle and check for leaks.

Previous Next