Previous Next

REMOVAL & INSTALLATION

1983–86 Pick-ups
  1. Disconnect the battery ground cable.
  2. Move the temperature selector lever to the off position.
  3. Drain the coolant.

    CAUTION
    When draining the coolant, keep in mind that cats and dogs are attracted by ethylene glycol antifreeze, and are quite likely to drink any that is left in an uncovered container or in puddles on the ground. This will prove fatal in sufficient quantity. Always drain the coolant into a sealable container. Coolant should be reused unless it is contaminated or several years old.

  4. In the cab, remove the parcel tray, the center vent grille and duct and the defroster duct.
  5. Label and disconnect the control cables at the heater box.
  6. Disconnect the coolant hoses running to the heater core. There will be some coolant within the hoses; don't spill it in the cab.
  7. Disconnect the fan wiring. Remove the upper and center mounting nuts holding the heater assembly. Remove the assembly.

    WARNING
    The heater core still contains coolant; be careful not to spill it in the cab.

  8. With the heater case removed, the core may be easily removed on the workbench.
  9. Place the new core in the heater case. Install the case in position and tighten the retaining nuts and bolts. Make sure the case is properly seated before tightening the mounting nuts.
  10. Connect the wiring to the fan motor.

    Fig. 1: Heater system components — 1983–86 Pick-ups

  11. Install the water hoses, making sure each is pushed onto its pipe at least 1 in. (25mm). Use new clamps if needed.
  12. Connect the cables to the heater unit. Pay attention to the labels.
  13. Install the defroster duct, the center ventilator duct and grille and the parcel tray.
  14. Double check the draincock, closing it securely if not already done. Fill the cooling system with coolant.
  15. Connect the negative battery cable.
  16. Start the engine. Move the temperature selector to HOT and allow the engine to warm up. Check the function of each heater control and inspect the hose connections for leaks.
1987–95 Pick-ups
  1. With the engine cold, set the temperature control lever to the extreme hot position. Drain the engine coolant through the radiator drain plug.

    CAUTION
    When draining the coolant, keep in mind that cats and dogs are attracted by ethylene glycol antifreeze, and are quite likely to drink any that is left in an uncovered container or in puddles on the ground. This will prove fatal in sufficient quantity. Always drain the coolant into a sealable container. Coolant should be reused unless it is contaminated or several years old.

  2. Disconnect the coolant hoses running to the heater pipes at the firewall. Take note of hose location and placement; they are formed to fit exactly as needed.
  3. Disconnect the negative battery cable.
  4. Remove the hazard flasher switch.
  5. Pop out the hole cover, or starter unlock switch, on the opposite side (from the hazard flasher switch) of the instrument hood.
  6. Remove the instrument hood.
  7. Remove the instrument cluster, remembering to disconnect the wiring and speedometer cable at the rear.

    Fig. 2: Instrument panel (dashboard) removal and installation components — 1987–95 Pick-ups

    Fig. 3: Heater unit assembly components — 1987–95 Pick-ups

    Fig. 4: Unfasten the four retaining screws to remove the meter hood — 1987–95 Pick-ups

    Fig. 5: To remove the glove box assembly, the glove box stopper must first be released — 1987–95 Pick-ups

  8. Remove the fusebox cover. Remove the fusebox from the dashboard and let it hang.
  9. Remove the glove box. Move the stopper out of the way before lowering the door.
  10. Remove the two defroster ducts.
  11. Label and disconnect the 3 control wires running to the heater unit.
  12. Remove the speaker cover panels on each side.
  13. Remove the clock or small compartment from the dash.
  14. Pop out the small square cover at the upper center of the dash. Its easiest to reach in the clock hole and release the clips with your fingers.
  15. Remove the lower center faceplate or cover from the center of the dash.
  16. Remove the shifter knob.
  17. Remove the floor console assembly.
  18. Disconnect the left side and front harness connectors running to the dashboard.
  19. Disconnect the air conditioner and heater wiring harnesses. Disconnect the instrument cluster harness and the radio connectors, including the antenna wire.
  20. Remove the retaining nuts and bolts holding the dash. They are located across the top, along the sides and at the bottom.
  21. Use the tilt release lever and move the steering column all the way downward.
  22. Remove the dash carefully; several components are still connected to it.
  23. Remove the large duct running between the heater case and the fan case.
  24. Remove the center ventilator duct.
  25. Remove the defroster duct.

    Fig. 6: Make certain to remove all of the instrument panel retaining screws before removing the panel — 1987–95 Pick-ups

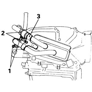
    Fig. 7: Remove the joint hose clamps (1), joint hoses (2) and plate (3) before removing the heater core — 1987–95 Pick-ups

  26. Remove the two vertical reinforcing bars.
  27. Remove the retaining nuts and bolts and remove the heater case.

    WARNING
    The heater core still contains coolant; be careful not to spill it inside the cab.

  28. Remove the hose cover on the side of the heater case.
  29. Disconnect the hose clamps on the small hoses.
  30. Use a sharp knife or razor to cut away the small hoses. Attempting to remove the hoses may damage the tubing.
  31. Remove the retaining plate.
  32. Remove the heater core from the case.

    To install:

  33. Install the core into the case, making sure all the padding and insulation is in place.
  34. Install the plate holding the two pipes. Install new small hoses and new clamps. Make certain the joints are correctly fitted and that the clamps are tightened. These hoses are not accessible after installation; any leak will require removal again.
  35. Install the hose cover.
  36. Install the heater unit in the vehicle, making certain the pipes go through the firewall grommet correctly. Tighten the retaining bolts and nuts.
  37. Install the center reinforcements for the dash.
  38. Install the defroster duct, the center vent duct and the large air duct to the blower.
  39. Place the dash into the vehicle carefully and connect the main electrical harnesses.
  40. Install all the retaining nuts and bolts but do not tighten any of them until the alignment of the dash is correct.
  41. Reinstall the floor console, the shifter knob and the lower center faceplate.
  42. Install the upper bolt cover in the center of the dash.
  43. Replace the clock or small pocket. Don't forget to plug wiring together.
  44. Install the speaker covers.
  45. Route the heater control cables properly and connect them.
  46. Install the defroster ducts.
  47. Install the glove box.
  48. Remount the fusebox on the dash and install the lid.
  49. Install the instrument cluster. Connect the speedometer cable and wiring harnesses before tightening the screws.
  50. Install the instrument cluster hood and install the bolt cover.
  51. Install the hazard warning switch.
  52. Connect the heater hoses to the pipes at the firewall.
  53. Double check the draincock, closing it securely if not already done. Fill the cooling system with coolant.
  54. Connect the negative battery cable.
  55. Start the engine. Move the temperature selector to HOT and allow the engine to warm up. Check the function of each heater control and inspect the hose connections for leaks.
1983–86 Monteros
  1. With the engine cold, set the temperature control lever to the extreme hot position. Drain the engine coolant through the radiator drain plug.

    CAUTION
    When draining the coolant, keep in mind that cats and dogs are attracted by ethylene glycol antifreeze, and are quite likely to drink any that is left in an uncovered container or in puddles on the ground. This will prove fatal in sufficient quantity. Always drain the coolant into a sealable container. Coolant should be reused unless it is contaminated or several years old.

  2. Disconnect the coolant hoses running to the heater pipes at the firewall. Take note of hose location and placement; they are formed to fit exactly as needed.
  3. Disconnect the negative battery cable.
  4. Remove the steering wheel.
  5. Remove the center console.
  6. Remove the meter assembly. Carefully disconnect the wiring and speedometer cable.
  7. Remove the gauge assembly and disconnect its wiring.
  8. Remove the lap heater ducts below the dash and disconnect the release cable bracket from the dash.
  9. Remove the heater control assembly. Label each cable as it is disconnected at the heater end.
  10. Remove the fuse cover on the side of the dash. unscrew the mounting bolts and push the fuseblock into the dashboard.
  11. Disconnect the wiring from the front speakers.
  12. Remove the plug at the center of the instrument panel.
  13. Remove the right and left side defroster grilles by gently prying on the mounting projections with a small flat tool. Be careful not to break the projections off.
  14. Remove the glove box.
  15. Disconnect the wiring from the heater relay.
  16. Remove the mounting nuts and bolts and remove the instrument panel.
  17. Remove the center ventilator duct and the defroster duct.
  18. Remove the rear heater duct.
  19. Remove the upper and lower retaining nuts and remove the heater case.

    WARNING
    The heater core still contains coolant; be careful not to spill it in the cab.

  20. Remove the heater control lever arm and remove the water valve cover.
  21. Remove the heater pipe and the water valve.
  22. Disconnect the control arm linkage and remove the control arm.
  23. Remove the heater core by sliding it out of the case sideways. Do not remove the protective felt liner when removing the core. It insulates the core within the case.

    To install:

  24. Install the new core into the case with the felt insulator positioned properly.
  25. Install the control arm on the linkage.
  26. Install the water control valve and heater pipe
  27. Move the center ventilator damper (door) to the closed position. Turn the arm fully clockwise and connect it to the link.
  28. Move the defroster/heater damper to the defroster position. Turn the arm fully counterclockwise and connect it to the link.
  29. Close the water valve completely and close the air intake damper completely. Connect the arm to the link.
  30. Install the heater hoses, pushing them onto the pipes as far as the second bulge. Tighten the clamps. Make sure the clamps are positioned so as not to interfere with other hoses.
  31. Reinstall the heater unit into the vehicle. Tighten the retaining nuts.
  32. Connect the rear heater duct, the defroster duct and the center ventilator duct.
  33. Position the dashboard and secure the mounting bolts.
  34. Connect the heater relay wiring and install the glove box.
  35. Install the side defroster grilles and the plug at the center of the dash.
  36. Connect the front speaker wiring.
  37. Position the fusebox and install its screws; install the cover.
  38. Install the heater control assembly and connect the control cables.
  39. Install the two lap heater ducts and install the hood release cable bracket.
  40. Install the combination gauge unit and connect the wiring.
  41. Install the instrument cluster. Connect the wiring and the speedometer cable.
  42. Install the center console.
  43. Install the steering wheel.
  44. Connect the heater hoses to the pipes at the firewall.
  45. Double check the draincock, closing it securely if not already done. Fill the cooling system with coolant.
  46. Connect the negative battery cable.
  47. Start the engine. Move the temperature selector to HOT and allow the engine to warm up. Check the function of each heater control and inspect the hose connections for leaks.
1987–91 Montero
  1. With the engine cold, set the temperature control lever to the extreme hot position. Drain the engine coolant through the radiator drain plug.

    CAUTION
    When draining the coolant, keep in mind that cats and dogs are attracted by ethylene glycol antifreeze, and are quite likely to drink any that is left in an uncovered container or in puddles on the ground. This will prove fatal in sufficient quantity. Always drain the coolant into a sealable container. Coolant should be reused unless it is contaminated or several years old.

  2. Disconnect the coolant hoses running to the heater pipes at the firewall. Take note of hose location and placement; they are formed to fit exactly as needed.
  3. Disconnect the negative battery cable.
  4. Remove the lap heater air ducts under the left and right side dash.
  5. Remove the hood release cable bracket from the dashboard.
  6. Remove the left and right side defroster grilles. Use a small flat tool to raise the attaching projections. Don't break the tabs.
  7. Remove the glove box.
  8. Use a flat, padded tool to remove the rear cover from the instrument cluster.
  9. Remove the instrument cluster (meter case). Disconnect the speedometer cable and the wiring harnesses to the back of the cluster.
  10. Disconnect the wiring to each switch on the cluster. Label each as it is removed.
  11. Remove the screws from the side of the combination meter unit and remove the cover.
  12. Remove the 4 screws at the base of the combination meter and gently remove the meter. Disconnect the wire harnesses.

    WARNING
    The inclinometer can be damaged by dropping or bumping it. Do not tilt the unit so far as to exceed the maximum indication on the scale. Resist the temptation to play with the unit.

  13. Remove the center panel or lower console.
  14. Disconnect the 3 heater control cables running to the heater unit. Label each one.
  15. Remove the center reinforcement and bring it out as a unit with the radio or stereo. Disconnect the wiring when the unit is free.

    Fig. 8: Use a prytool and a piece of rubber or rag to remove the meter cover — 1987–91 Monteros

    Fig. 9: Remove the fuse box cover and the fuse box itself — 1987–91 Monteros

    Fig. 10: Removing the retaining screws and the meter case from the instrument panel — 1987–91 Monteros

    Fig. 11: Removing the combination meter case from the instrument panel — 1987–91 Monteros

    Fig. 12: The center panel and its controls must also be removed — 1987–91 Monteros

    Fig. 13: Unhook the heater control assembly cables from the heater control levers — 1987–91 Monteros

    Fig. 14: Remove all of the mounting bolts from the center reinforcement, then remove the reinforcement itself — 1987–91 Monteros

    Fig. 15: After removing all of its mounting screws, remove the instrument panel from the vehicle — 1987–91 Monteros

    Fig. 16: With the instrument panel removed from the vehicle, access to the heater system is easy — 1987–91 Monteros

    Fig. 17: Disconnect the heater unit-to-duct brackets — 1987–91 Monteros

    Fig. 18: Unscrew the heater unit mounting bolts — 1987–91 Monteros

    Fig. 19: Extract the heater unit, being careful not to damage the water pipes — 1987–91 Monteros

    Fig. 20: Unfasten the heater core cover mounting screws — 1987–91 Monteros

    Fig. 21: Remove the heater core cover from the heater unit — 1987–91 Monteros

    Fig. 22: Slide the heater core out of the heater unit — 1987–91 Monteros

  16. Remove the horn pad and the steering wheel.
  17. Remove the fuse box cover and release the fusebox from the dashboard.
  18. Unfasten the dashboard mounting nuts and bolts, and remove the dashboard.
  19. Remove the center ventilator duct and the defroster duct.
  20. Remove the rear heater duct.
  21. Remove the upper and lower retaining nuts and remove the heater case.

    WARNING
    The heater core still contains coolant; be careful not to spill it in the cab.

  22. Remove the heater control lever arm and remove the water valve cover.
  23. Remove the heater pipe and the water valve.
  24. Disconnect the control arm linkage and remove the control arm.
  25. Remove the heater core by sliding it out of the case sideways. Do not remove the protective felt liner when removing the core. It insulates the core within the case.

    To install:

  26. Install the new core into the case with the felt insulator positioned properly.
  27. Install the control arm on the linkage.
  28. Install the water control valve and heater pipe
  29. Move the center ventilator damper (door) to the closed position. Turn the arm fully clockwise and connect it to the link.
  30. Move the defroster/heater damper to the defroster position. Turn the arm fully counterclockwise and connect it to the link.
  31. Close the water valve completely and close the air intake damper completely. Connect the arm to the link.
  32. Install the heater hoses, pushing them onto the pipes as far as the second bulge. Tighten the clamps. Make sure the clamps are positioned so as not to interfere with other hoses.

    Fig. 23: The instrument panel removal and installation components — 1987–91 Monteros

    Fig. 24: Heater unit assembly components — 1987–91 Monteros

    Fig. 25: Remove the piping clamp (1), water valve link (2), joint hose clamp (3), joint hose (4) and screws (5) to remove the water valve from the heater core — 1987–91 Monteros

    Fig. 26: Remove the FOOT/DEF damper link from the mode selection damper lever to remove the heater core — 1987–91 Monteros

  33. Reinstall the heater unit into the vehicle. Tighten the retaining nuts.
  34. Connect the rear heater duct, the defroster duct and the center ventilator duct.
  35. Position the dashboard and start each nut and bolt. Make certain the dashboard is aligned, then tighten the fittings.
  36. Install the fusebox assembly and its cover.
  37. Install the steering wheel and horn pad.
  38. Install the radio and center reinforcement. Connect the wiring before tightening the bolts.
  39. Carefully route and connect the heater control cables.
  40. Install center panel and secure the heater controls.
  41. Install the combination gauges and connect the wiring.
  42. Install the cover for the combination gauges.
  43. Install the instrument cluster, connecting the speedometer cable and the many wiring connectors.
  44. Install the cluster cover; make sure it is firmly seated in place.
  45. Replace the glove box
  46. Reinstall the side defroster grilles.
  47. Connect the hood release cable bracket.
  48. Install the two lap heater ducts.
  49. Connect the heater hoses to the pipes at the firewall.
  50. Double check the draincock, closing it securely if not already done. Fill the cooling system with coolant.
  51. Connect the negative battery cable.
  52. Start the engine. Move the temperature selector to HOT and allow the engine to warm up. Check the function of each heater control and inspect the hose connections for leaks.
1992–95 Montero
  1. Drain the coolant system into a clean, large container so that reuse of the coolant is possible.

    CAUTION
    When draining the coolant, keep in mind that cats and dogs are attracted by ethylene glycol antifreeze, and are quite likely to drink any that is left in an uncovered container or in puddles on the ground. This will prove fatal in sufficient quantity. Always drain the coolant into a sealable container. Coolant should be reused unless it is contaminated or several years old.

  2. Disconnect the negative (-) battery cable from the battery.
  3. Remove the floor console inside the vehicle by following these steps:
    1. Remove the switch panel and the suspension control switch or hole cover.
    2. Unplug the rear console harness connector.
    3. Remove side panel A.
    4. Unscrew the four retaining screws and remove the rear console assembly.
    5. If so equipped, remove the manual transmission shift lever knob.
    6. Remove the transfer shift lever knob.
    7. Disconnect the floor console harness.
    8. Unscrew the three retaining screws and remove the front console assembly. When removing the automatic transmission front console assembly, set the automatic transmission selector lever to L.

      WARNING
      When installing or removing the instrument panel, do not allow any impact or shock to the SRS diagnosis unit.

  4. Remove the instrument panel and dashboard. Use the following steps:
    1. Remove the hood lock release and the fuel filler door lock release handles.
    2. Loosen and remove the retaining screws, then the instrument under and corner covers.
    3. Remove the glove box stopper and then the glove box.
    4. Unscrew the mounting screws and remove the center panel A.
    5. Extract the heater control assembly.
    6. Take the radio and tape player out.
    7. Pop the meter hood plug out, then remove the meter bezel assembly by loosening and removing the mounting screws.
    8. Remove the screws holding the combination meter (instrument cluster) in place and extract the meter.
    9. Disconnect and remove the speedometer cable adapter. First disconnect the speedometer cable at the transmission end of the cable, then remove the lock of the speedometer cable adapter from the instrument panel. Pull the speedometer cable slightly toward the vehicle interior, then remove the speedometer cable adapter.
    10. Remove the four screws holding the column cover in place, then remove the cover itself.
    11. Remove the clock or clock plug.
    12. Remove the side defroster garnish, the door mirror control switch, the front speaker, the rheostat, the rear wiper and washer switch and the door lock switch.
    13. Disconnect the ventilation control wire and the wiring harness.
    14. Unscrew the steering column installation bolts.
    15. Unscrew all the retaining screws holding the dashboard (instrument panel assembly) in place and remove the assembly.

      Fig. 27: Floor console removal and installation component locations — 1992–95 Monteros

      Fig. 28: Instrument panel removal and installation component locations — 1992–95 Monteros

      Fig. 29: Heater unit removal and installation component locations — 1992–95 Monteros

      Fig. 30: To install the ventilation control wire, set the cool air bypass dial to the closed position and close the cool air bypass lever at the heater unit side — 1992–95 Monteros

  5. Disconnect the two water hoses from the heater core, located in the engine compartment. Make certain not to damage the metal pipes.
  6. Remove the left-hand and right-hand foot shower ducts.
  7. Take the lap cooler duct A out.
  8. On vehicles with A/C, re,ove the evaporator mounting bolts and nut. On vehicles with no A/C, remove the joint duct instead.
  9. Take the center duct assembly and the two center reinforcements out.
  10. Remove the heater unit. Be careful, there is still coolant in the heater core, which is in the heater unit. Set the heater unit outside of the vehicle and either pour the coolant out of the heater core while still in the heater unit, or wait until the heater core has been removed from the heater unit.
  11. Remove the foot distribution duct.
  12. Loosen and remove the heater core retaining bolts, and remove the heater core from the heater unit.

    To install:

  13. While the system is apart, check the operation of the dampers and link mechanism. Also check the heater core for clogging and water leakage.
  14. Set the heater core back into the heater unit and secure it in place with the retaining bolts.
  15. With the two mounting bolts, mount the foot distribution duct back in place.
  16. Install the heater unit back into its original position, and use the two bolts and the two nuts to secure it there.
  17. Install the two center reinforcements and affix the center duct assembly to the top of the heater unit.
  18. Install either the joint duct, or the evaporator mounting bolts and nut, depending on whichever was removed.
  19. Put the lap cooler duct and the right-hand and left-hand foot shower ducts back in place. Secure them with their mounting screws.
  20. Attach the two water cooling hoses to the heater core. Make sure the hoses are on all the way, the clamps are properly installed and the rubber firewall gasket/grommet is correctly installed. It is important to make certain that the hoses are correctly secured to the pipes, because if a coolant leak is created, the whole system must once again be disassembled to repair it.
  21. Install the instrument panel assembly:
    1. Hold the assembly in position and secure it in place with its mounting screws.
    2. Tighten the steering column installation bolts and plug the harness connector back together.
    3. To install the ventilation control wire, set the cool air bypass dial to the closed position. Close the cool air bypass lever at the heater unit side (lever is lightly hit against the stopper). Install the ventilation control wire and secure it with the clip.
    4. Install the door lock switch, the rear wiper and washer switch, the rheostat, the front speaker, the door mirror control switch, the side defroster garnish, the clock or clock plug and the column cover.
    5. Hook the speedometer cable adapter back up the back of the combination meter (instrument cluster).
    6. Install the combination meter, the meter bezel assembly and the meter hood plug.
    7. hook the radio and tape player back up and install them in the dashboard.
    8. Install the heater control assembly, center panel A, the glove box assembly and the glove box stopper.
    9. Install the instrument under and corner covers, the fuel filler door lock release handle and the hood lock release handle.
  22. Install the floor console:
    1. Attach the front console assembly and plug the floor console harness connector back together.
    2. Install the transfer shift lever knob, and the manual transmission shift lever knob, if so equipped.
    3. Attach the rear console assembly and side panel A.
    4. Plug the rear console harness connector back together.
    5. Install the suspension control switch or the hole cover to the switch panel, then install the switch panel to the rear console assembly.
  23. Fill the cooling system back up to full and connect the negative (-) battery cable to the battery.
  24. Start the engine and check for any coolant system leaks at the heater core cooling hose connection.

Previous Next