Previous Next

ADJUSTMENT

WARNING
If the switch is faulty, the engine may start with the vehicle "in gear''. If this happens the vehicle will accelerate when the engine starts. Keep the brakes on and be ready to switch the key off instantly.

1983–86 Pick-Ups and Monteros
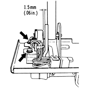
  1. Place the selector lever so that it is in the N position, then temporarily fasten the inhibitor switch (park/neutral switch) to the selector lever bracket. By using an ohmmeter, measure the continuity between the switch terminals BY and BY; move the switch forward and backward, and set it to the position of first continuity (where it first shows continuity).
  2. Slide the inhibitor switch (park/neutral switch) so that there is 0.06 in. (1.5mm) clearance between the switch and the shifter lever.
  3. Tighten the two attaching screws until snug.

    Fig. 1: Set the selector lever in the position shown, then adjust the switch so that it shows continuity — MA 904A transmissions

    Fig. 2: Slide the switch sideways until the proper clearance of 1.5mm (0.06 in.) exists — MA 904A transmissions

1987–89 Pick-Ups (4WD) and Monteros
  1. Make sure the harness connector is securely attached.
  2. Loosen the mounting screws.
  3. Set the shift lever so that the pin at the end of the rod is at the neutral position — see the illustration.
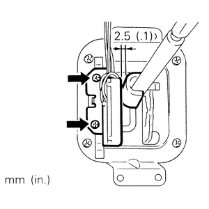
  4. Using a circuit tester between terminals 2-BY and 2-BY of the inhibitor switch connector, check the continuity when the inhibitor switch is moved back and forth, and mark the bracket.
  5. Tighten the inhibitor switch mounting screws so that the switch edge is 0.1 in. (2.5mm) from the close edge of the lever.

    Fig. 3: To adjust the park/neutral switch, move the selector lever until the selector rod is in the position shown — KM 148 transmissions

    Fig. 4: Once the selector lever is in the correct position, use an ohmmeter to set the park/neutral switch — KM 148 transmissions

    Fig. 5: Move the park/neutral switch to the side until the correct clearance has been reached — KM 148 transmissions

1990–95 Monteros
  1. Move the transmission selector lever to the N position.
  2. Loosen the adjusting nut of the control cable located on the left side of the transmission.
  3. Loosen the park/neutral position switch mounting bolt.
  4. Adjust by turning the park/neutral position switch so that the bosses for aligning the N position on the park/neutral position switch are aligned with the N position adjustment lever.
  5. Tighten the park/neutral position switch mounting bolt to 4 ft. lbs. (6 Nm).
  6. Gently pull the end of the transmission control cable in the direction of the arrow and tighten the adjusting nut to 17 ft. lbs. (24 Nm).
  7. Check that the selector lever to the N position.
  8. Check that the range on the transmission side operates and functions correctly for each position of the selector lever.

    Fig. 6: Position the adjustment lever until it is aligned with the two N position aligning bosses — V4AW2 (V4AW3) transmissions

    Fig. 7: When adjustments have been made, tighten the adjusting nut to 17 ft. lbs. (24 Nm) — V4AW2 (V4AW3) transmissions

CONTROL CABLE CHECK

It is possible to confirm whether the control cable is properly adjusted by checking whether the park/neutral position switch is performing well.

  1. Apply the parking and service brakes fully.
  2. Set the selector lever to the R position.
  3. Turn the ignition key to the START position.
  4. Slowly move the selector lever upward until it clicks as it fits into the notch of the P position. If the starter motor operates when the lever makes a click, the P position is correct.
  5. Then slowly move the selector lever to the N position by the same procedure as in the preceding paragraph. If the starter motor operates when the selector lever is at the N position, then the N position is correct.
  6. Also check that the vehicle does not begin to move and the lever does not stop between P — R — N — D.
  7. The control cable is properly adjusted if, as described previously, the starter motor starts in both the P range and the N range.

Previous Next